- Partiron
- OEM Parts
- Suzuki
- Motorcycle
- 2019
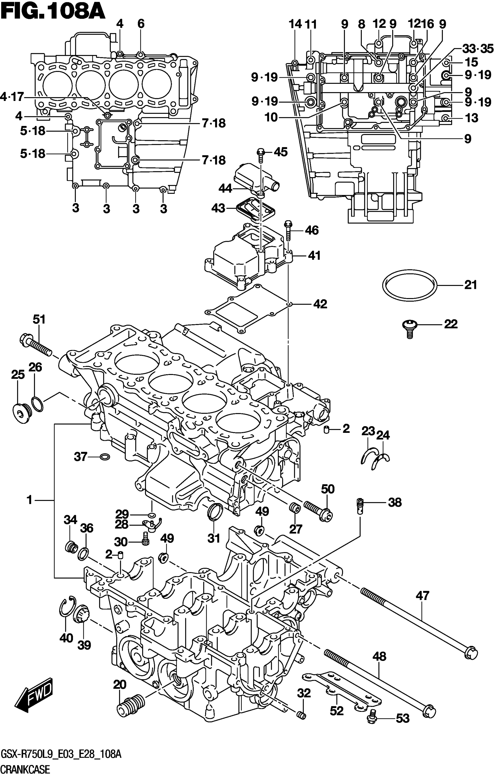
- GSX-R750L9 (2019)
CRANKCASE
Suzuki GSX-R750L9 (2019) CRANKCASE Diagram
#
Description
Price
41
COVER,BREATHER
11371-01H00
Unavailable
44
COVER,BREATHER REED VALVE
11372-01H00
Unavailable
