Partiron

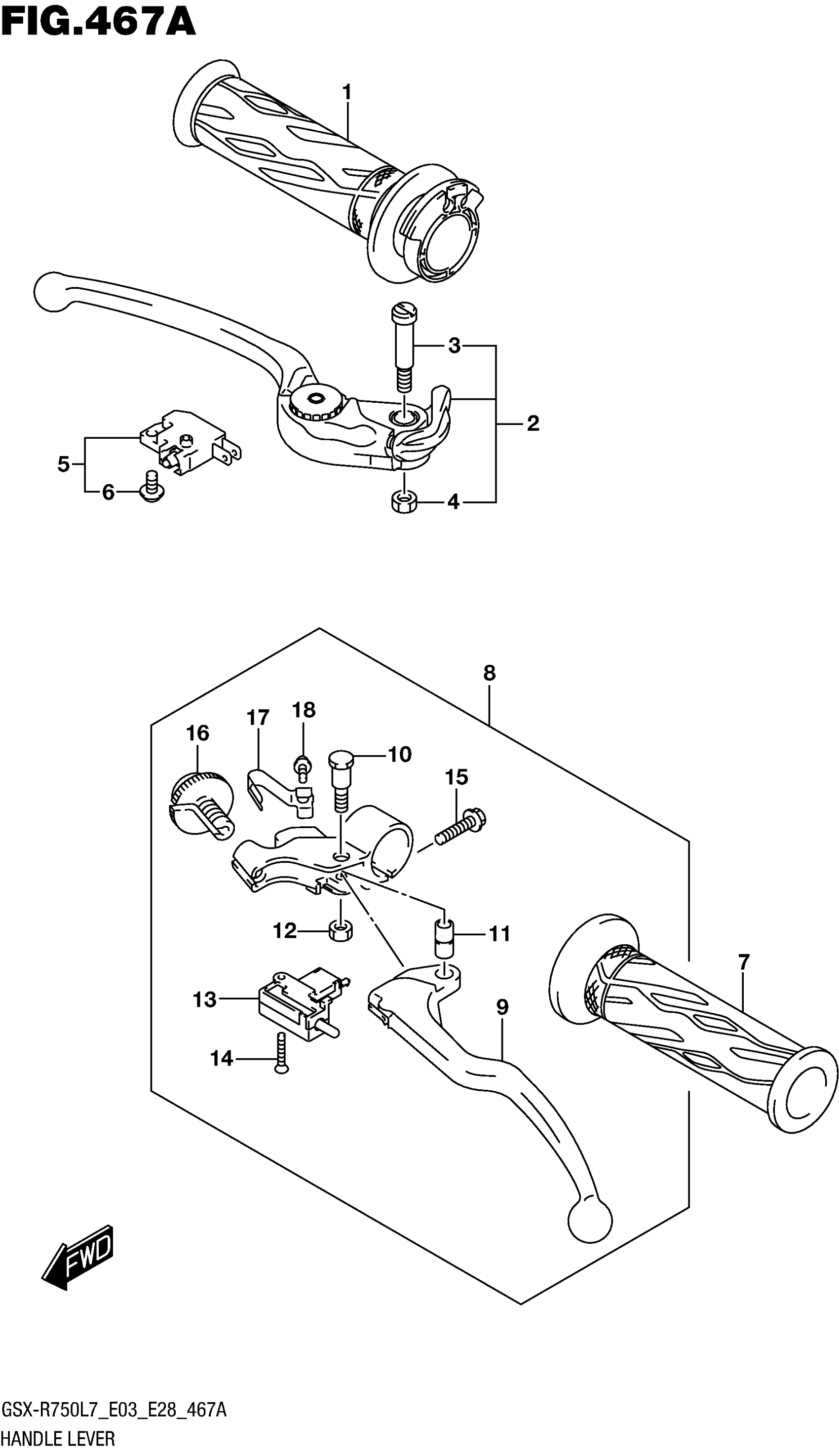
Suzuki GSX-R750L7 (2017) HANDLE LEVER Diagram

#

Description
Price

1

GRIP,THROTTLE

57110-21H02

$20.33

2

LEVER ASSY,BRAKE

57300-29G40

$93.77

3

.BOLT, PIVOT

57431-29G00

$9.31

4

.NUT

08319-2106A

$1.91

5

SWITCH ASSY,FR BRAKE This part replaces 57460-14J01.

57460-14J02

$38.46

6

.SCREW

57465-17C00

$2.19

7

GRIP LH

57211-21H01

$11.13

8

LEVER ASSY,CLUTCH This part replaces 57500-41G41.

57500-41G42

$72.23

9

.LEVER, CLUTCH

57621-41G10

$35.19

10

.BOLT

57431-41G00

$11.64

11

.COLLAR

57532-41G00

$19.74

12

NUT

08319-3106A

$2.03

13

.SWITCH ASSY, CLUTCH

57560-41G20

$22.86

14

.SCREW,CLUTCH SWITCH

57562-41G21

$8.11

15

..BOLT

01547-0620B

$2.45

16

.NUT, CABLE ADJUSTER

57641-33E21

$35.94

17

.SPRING

57644-33E00

$9.07

18

.SCREW, SPRING

57642-33E00

$4.02