- Partiron
- OEM Parts
- Suzuki
- Motorcycle
- 2013
- GSX-R750L3 (2013)
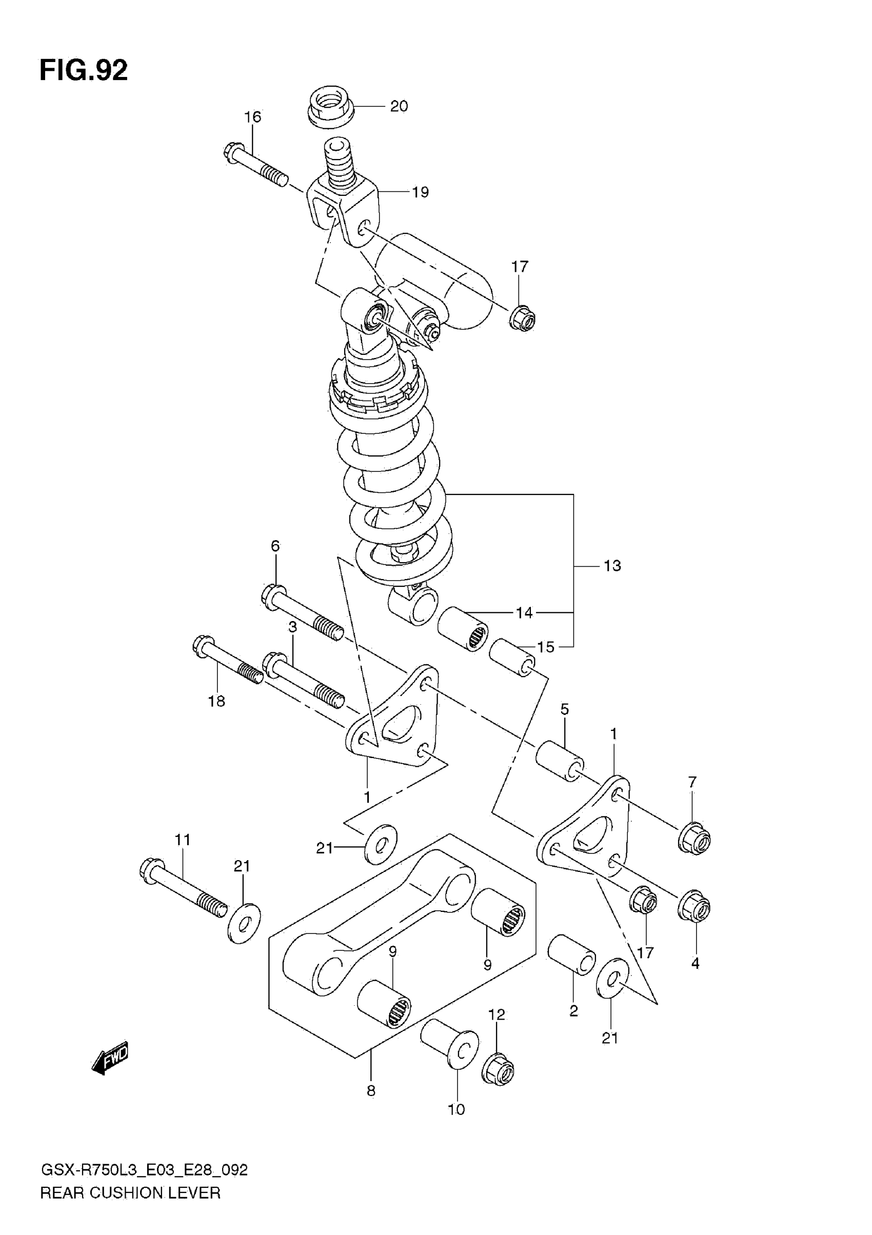
REAR CUSHION LEVER (E28)
Suzuki GSX-R750L3 (2013) REAR CUSHION LEVER (E28) Diagram
#
Description
Price
13
ABSORBER ASSY, REAR SHOCK (BLACK)
62100-15810-019
Unavailable
