- Partiron
- OEM Parts
- Suzuki
- Motorcycle
- 2012
- GSX-R750L2 (2012)
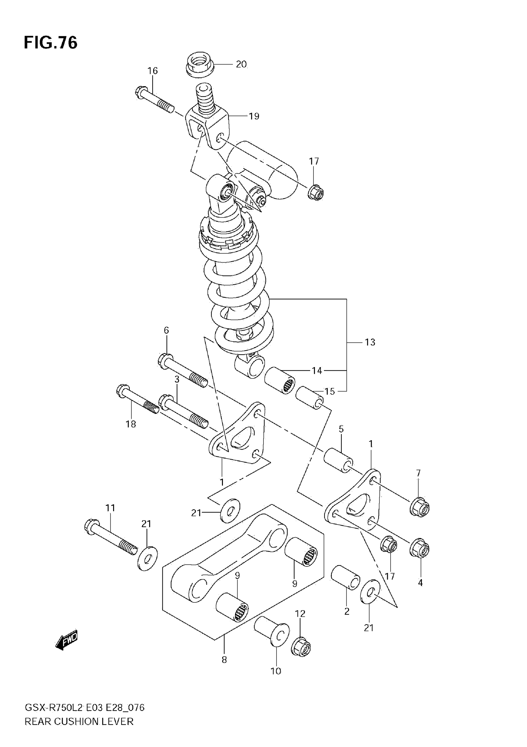
REAR CUSHION LEVER
Suzuki GSX-R750L2 (2012) REAR CUSHION LEVER Diagram
#
Description
Price
13
ABSORBER ASSY, REAR SHOCK (BLACK)
62100-15810-019
Unavailable
