- Partiron
- OEM Parts
- Suzuki
- Motorcycle
- 1990
- GSX-R750L (1990)
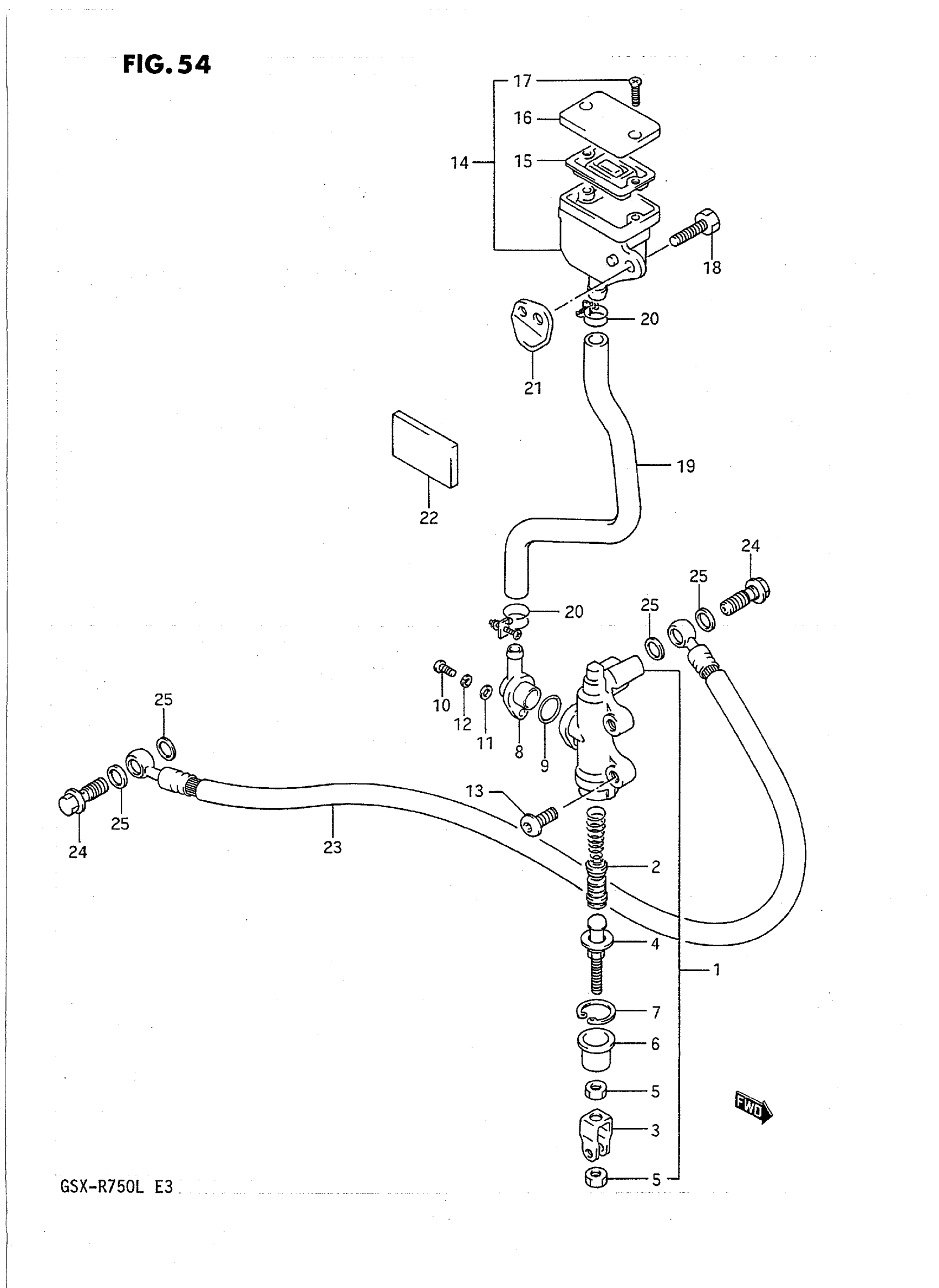
REAR MASTER CYLINDER (MODEL J/K)
Suzuki GSX-R750L (1990) REAR MASTER CYLINDER (MODEL J/K) Diagram
#
Description
Price
1
CYLINDER ASSY, REAR MASTER | Includes Item(s) 2 - 12 This part replaces 69600-17C00.
69600-17C01
$307.20
13
BOLT (8X22) | MODEL K
09139-08009
Unavailable
14
NO DESCRIPTION AVAILABLE | MODEL J This part replaces 69740-38B00.
69740-38B31
Unavailable
14
TANK ASSY, REAR RESERVOIR | MODEL K; Includes Item(s) 15 - 17 This part replaces 69740-38B20.
69740-38B21
$103.83
19
HOSE, RESERVOIR
69731-17C10
Unavailable
21
BRACKET, TANK REAR
69751-17C00
Unavailable
23
HOSE, REAR BRAKE
69480-27A11
Unavailable
