Partiron

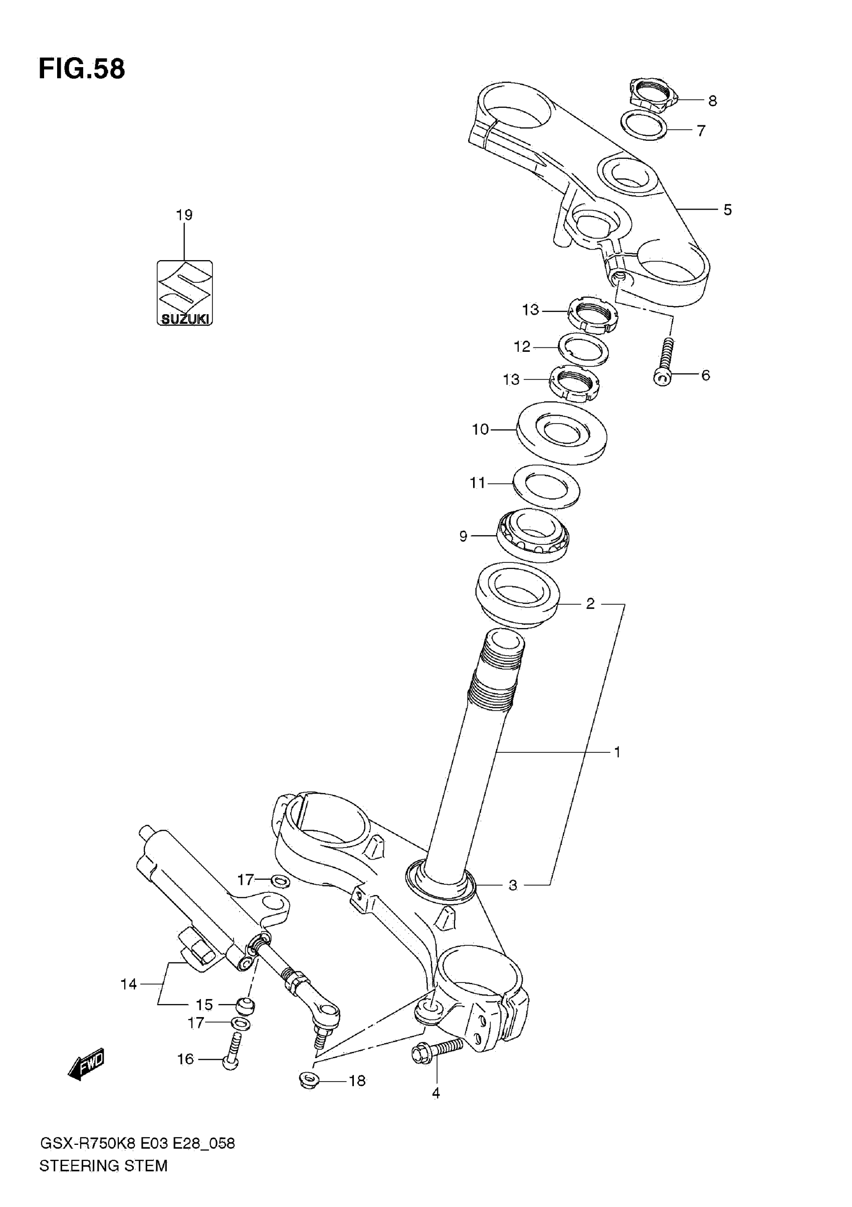
Suzuki GSX-R750K8 (2009) STEERING STEM Diagram

#

Description
Price

1

STEM,STEERING This part replaces 51410-01H00.

51410-01H10

$990.27

2

BEARING (30X55X17)

09267-30010

$48.11

3

SEAL, STEM LOWER

51644-12C00

$9.44

4

BOLT,HOLDER AXLE (8X40)

51328-27E30

$4.37

5

HEAD,STEERING STEM

51311-01H00

$421.30

6

BOLT

51147-01H00

$38.13

7

WASHER,STEM HEAD

51354-01H00

$7.50

8

NUT

51353-01H00

$35.76

9

BEARING (30X55X17)

09267-30010

$48.11

10

SEAL, STEM UPPER DUST

51643-41G10

$15.20

11

SEAL, UPPER DUST

51644-12C00

$9.44

12

WASHER, STEM

51641-33E00

$6.20

13

NUT, STEM

51631-33E00

$23.64

14

DAMPER ASSY,STEERING

51750-21H10

$1,596.37

15

BEARING (8X17.5X11)

09269-08003

$51.13

16

BOLT

09106-08130

$4.45

17

SEAL, DUST

64339-14101

$7.95

18

NUT

08319-3108A

$2.32

19

EMBLEM, "S"

68281-35F00

$16.45