- Partiron
- OEM Parts
- Suzuki
- Motorcycle
- 1987
- GSX-R750G (1987)
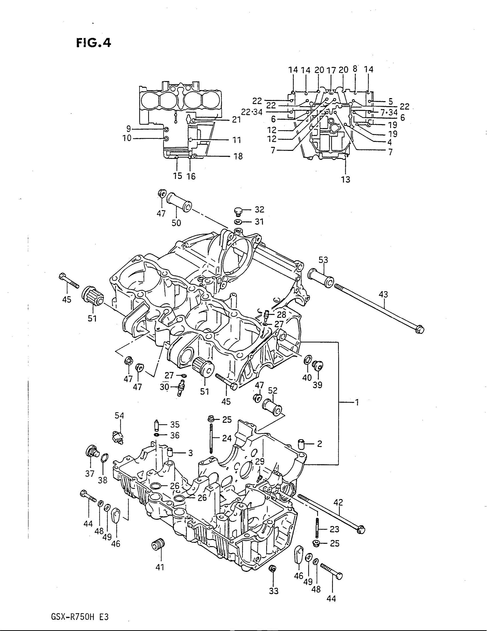
CRANKCASE
Suzuki GSX-R750G (1987) CRANKCASE Diagram
#
Description
Price
1
NO DESCRIPTION AVAILABLE This part replaces 11300-27852.
11301-27811
Unavailable
1
NO DESCRIPTION AVAILABLE | E.NO.131590~; Includes Item(s) 2 - 41 This part replaces 11300-27862.
11301-27811
Unavailable
28
JET, OIL GALY HEAD
09493-14002
Unavailable
30
JET, OIL GALY PISTON
09493-80008
Unavailable
33
PLUG, OIL GALY
09246-06001
Unavailable
35
VALVE ASSY, OIL CONTROL
16430-27A00
Unavailable
41
UNION, OIL FILTER STAND
16591-05A00
Unavailable
50
SPACER (L:55) This part replaces 11611-14220.
11610-14A00
Unavailable
51
BUSH
11681-27A00
Unavailable
52
SPACER This part replaces 11611-27A00.
11610-32400
Unavailable
53
SPACER (L:50) This part replaces 11612-27A00.
11610-44010
Unavailable
