- Partiron
- OEM Parts
- Suzuki
- Motorcycle
- 2007
- GSX-R750 (2007)
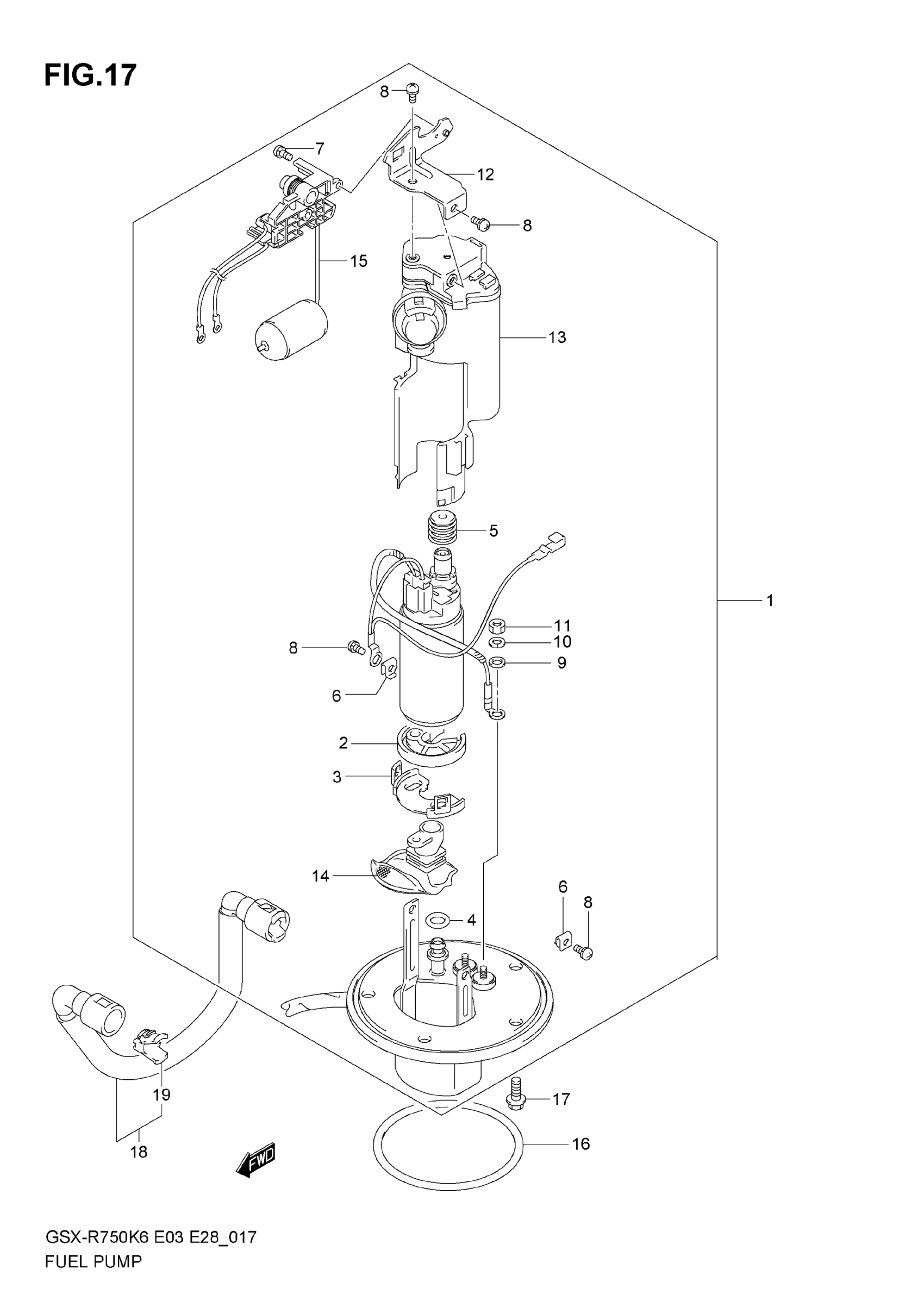
FUEL PUMP
Suzuki GSX-R750 (2007) FUEL PUMP Diagram
#
Description
Price
11
NUT
15173-35F00
Unavailable
12
BRACKET, FUEL GAUGE
15181-01H00
Unavailable
