- Partiron
- OEM Parts
- Suzuki
- Motorcycle
- 2005
- GSX-R750 (2005)
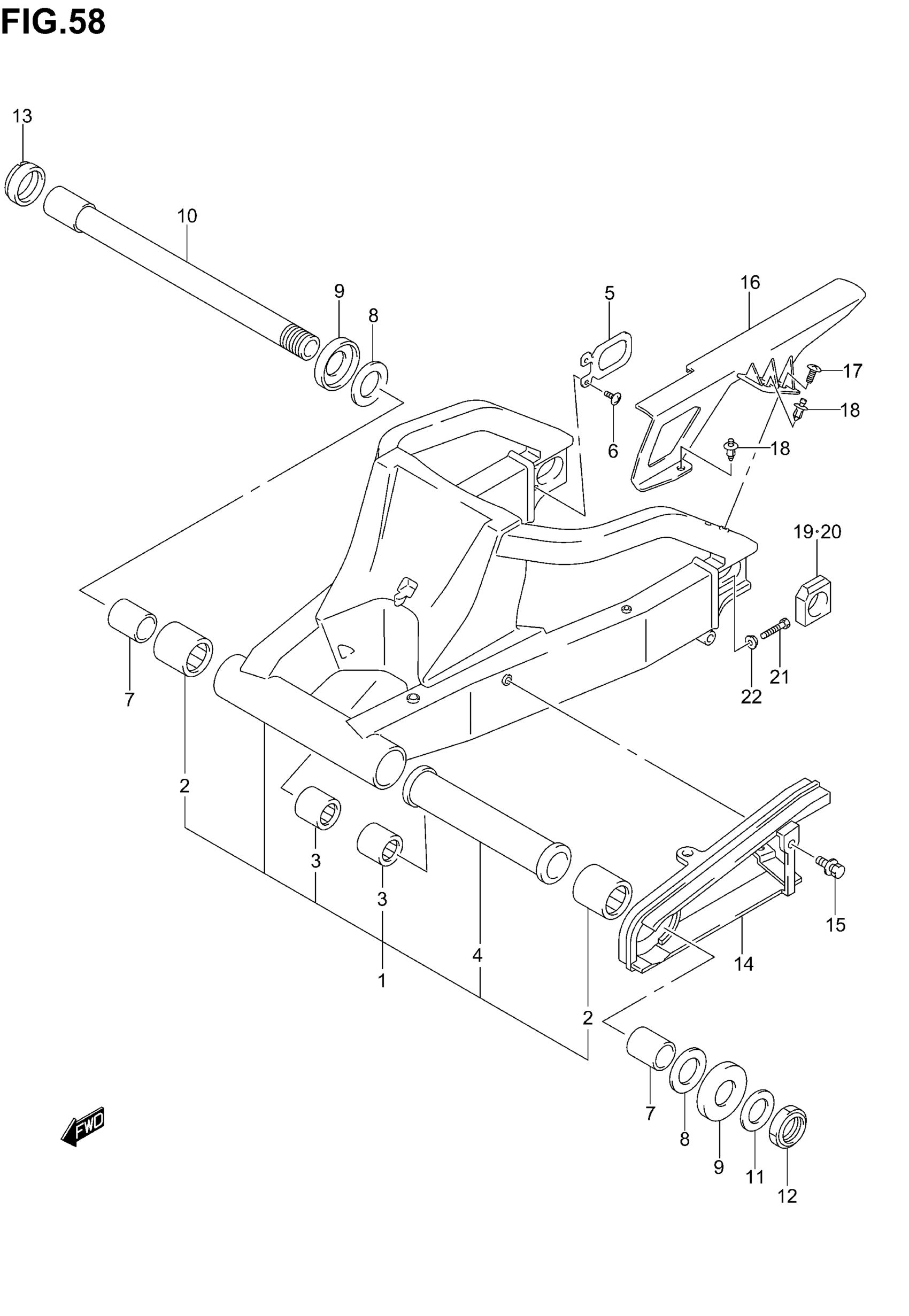
REAR SWINGING ARM
Suzuki GSX-R750 (2005) REAR SWINGING ARM Diagram
#
Description
Price
1
SWINGING ARM ASSY, REAR | Includes Item(s) 2 - 4
61000-30G00
Unavailable
19
ADJUSTER, CHAIN RH
61445-40F10
Unavailable
