- Partiron
- OEM Parts
- Suzuki
- Motorcycle
- 2005
- GSX-R750 (2005)
FRAME COVER (MODEL K4)
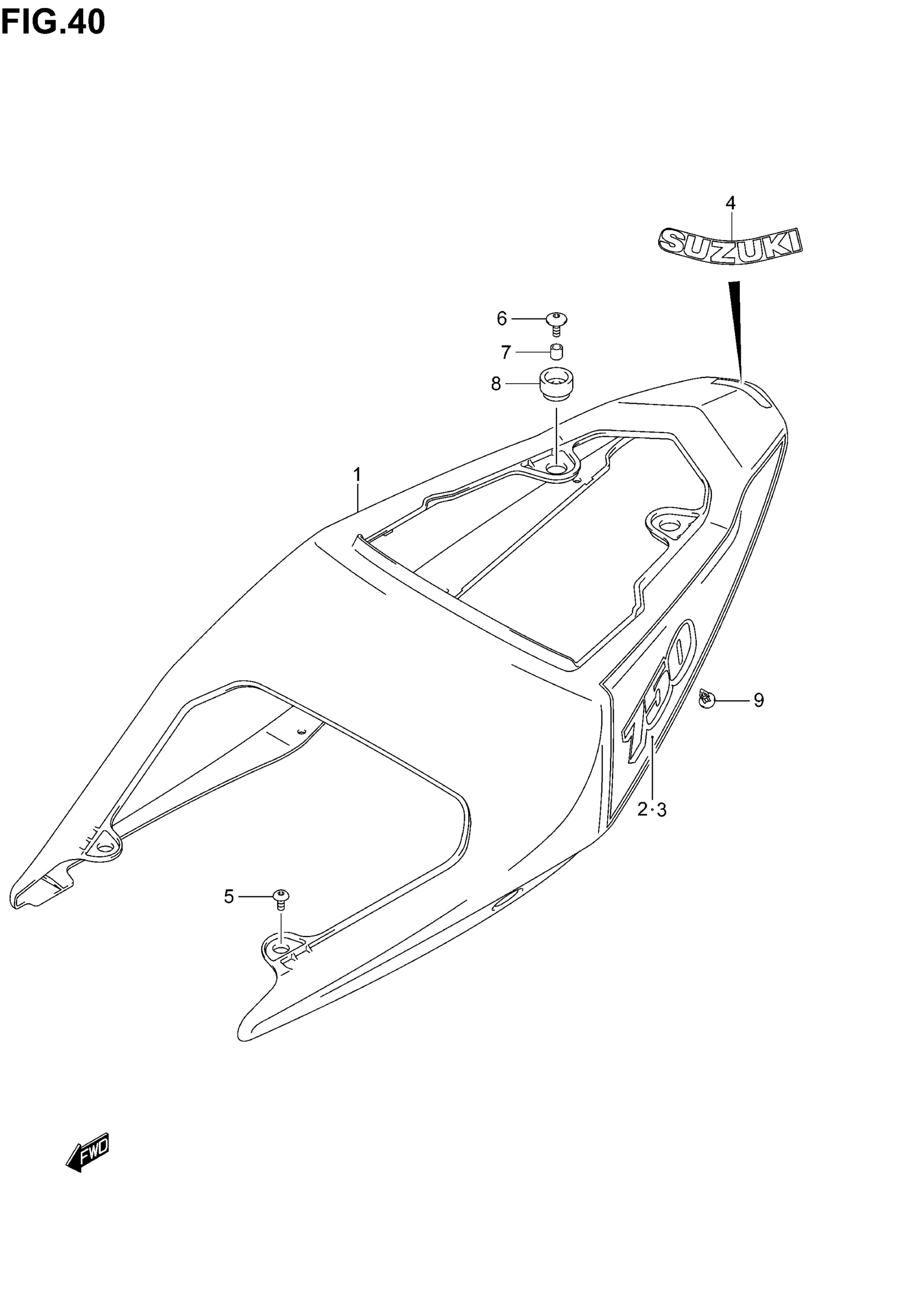
Suzuki GSX-R750 (2005) FRAME COVER (MODEL K4) Diagram
#
Description
Price
1
COVER, FRAME (WHITE) | FOR LR5
47100-30G00-YBD
Unavailable
1
COVER, FRAME (YELLOW) | FOR AGN
47100-30G00-YEC
Unavailable
1
COVER, FRAME (GRAY) | FOR AGR; Includes Item(s) 2 - 4
47100-30G00-YU8
Unavailable
2
TAPE, RH | FOR YBD
68135-30G00-AYE
Unavailable
2
TAPE, RH | FOR YEC
68135-30G00-AVH
Unavailable
2
TAPE, RH | FOR YU8
68135-30G00-AKS
Unavailable
3
TAPE, LH | FOR YBD
68145-30G00-AYE
Unavailable
3
TAPE, LH | FOR YEC
68145-30G00-AVH
Unavailable
3
TAPE, LH | FOR YU8
68145-30G00-AKS
Unavailable
