- Partiron
- OEM Parts
- Suzuki
- Motorcycle
- 1993
- GSX-R600WP (1993)
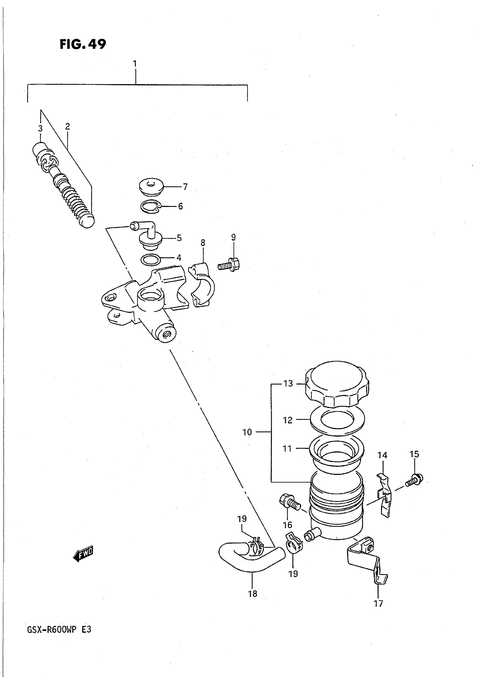
FRONT MASTER CYLINDER
Suzuki GSX-R600WP (1993) FRONT MASTER CYLINDER Diagram
#
Description
Price
17
NO DESCRIPTION AVAILABLE This part replaces 59750-17E00.
59750-17E01
Unavailable
