- Partiron
- OEM Parts
- Suzuki
- Motorcycle
- 2024
- GSX-R600M4 (2024)
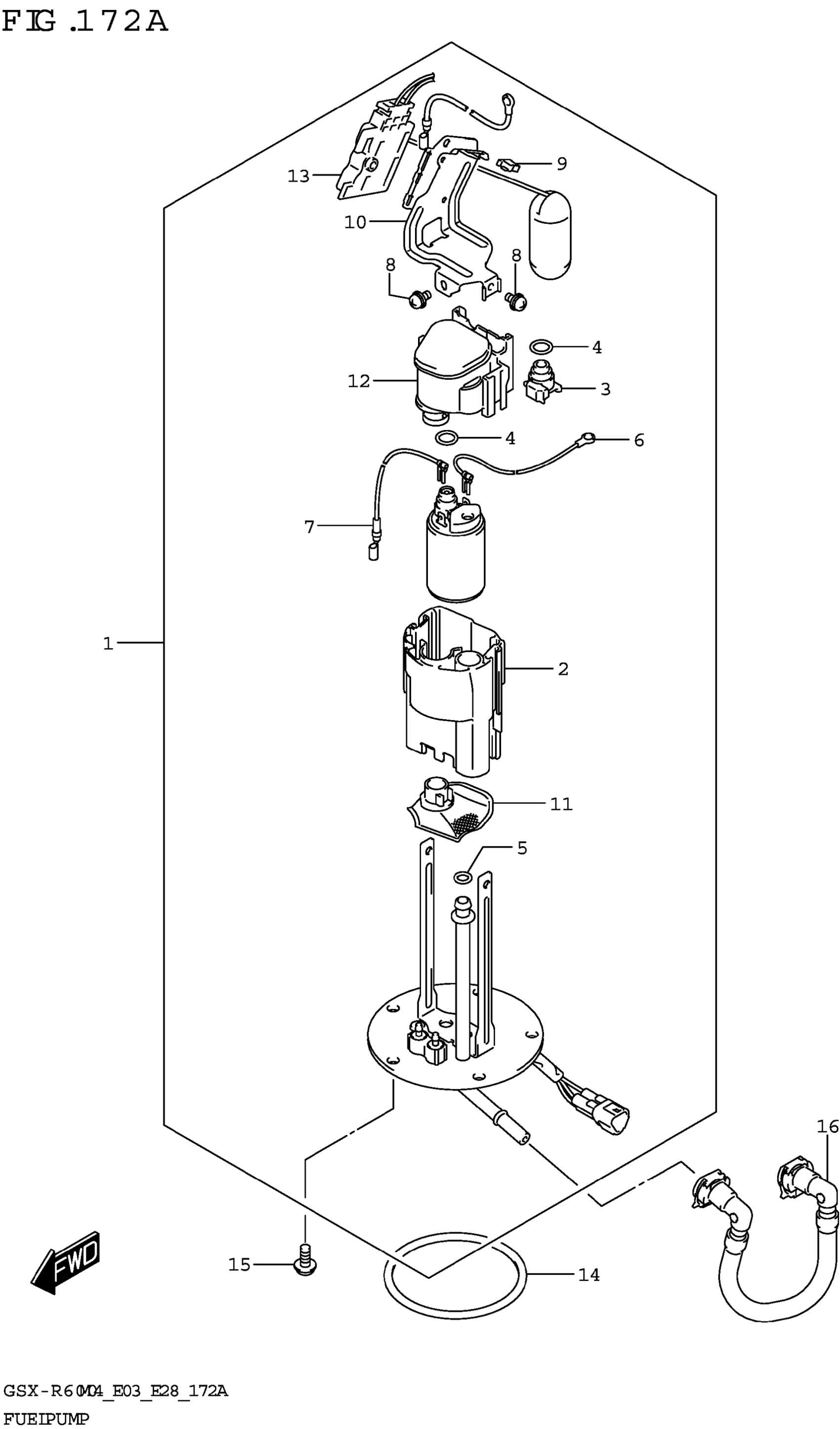
FUEL PUMP
Suzuki GSX-R600M4 (2024) FUEL PUMP Diagram
#
Description
Price
6
.WIRE,EARTH
15114-14J00
Unavailable
7
.WIRE,LEAD
15115-14J00
Unavailable
9
.SADDLE,EDGE
15119-23H00
Unavailable
10
.BRACKET,FUEL GAUGE
15181-14J00
Unavailable
13
.GAUGE ASSY,FUEL LEVEL
34810-14J00
Unavailable
