- Partiron
- OEM Parts
- Suzuki
- Motorcycle
- 2022
- GSX-R600M2 (2022)
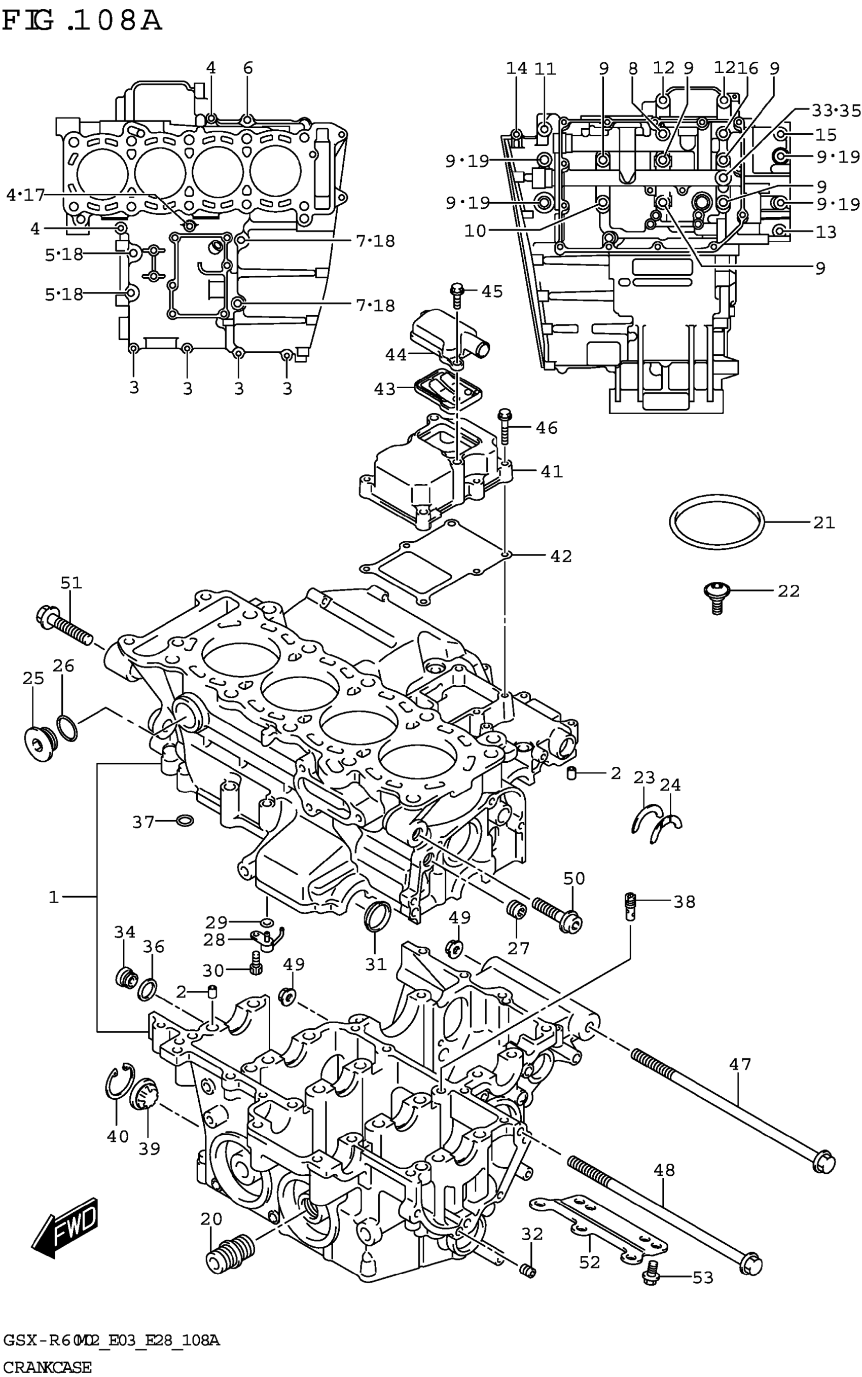
CRANKCASE
Suzuki GSX-R600M2 (2022) CRANKCASE Diagram
#
Description
Price
41
COVER,BREATHER
11371-01H00
Unavailable
44
COVER,BREATHER REED VALVE
11372-01H00
Unavailable
