- Partiron
- OEM Parts
- Suzuki
- Motorcycle
- 2017
- GSX-R600L7 (2017)
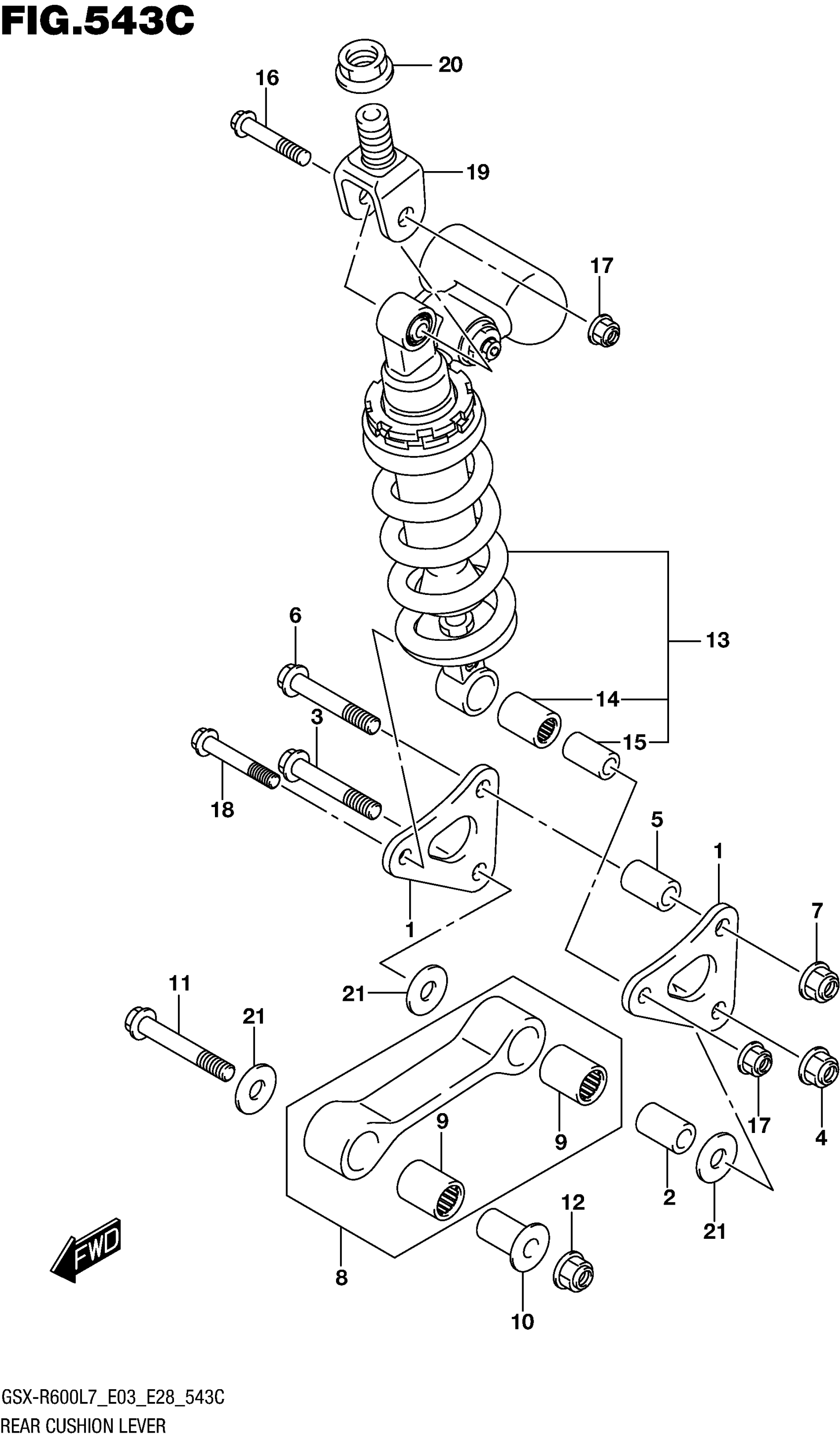
REAR CUSHION LEVER (GSX-R600L7 E33)
Suzuki GSX-R600L7 (2017) REAR CUSHION LEVER (GSX-R600L7 E33) Diagram
#
Description
Price
13
ABSORBER ASSY, REAR SHOCK
62100-14850-019
Unavailable
13
(BLACK)
62100-14850-019
Unavailable
