- Partiron
- OEM Parts
- Suzuki
- Motorcycle
- 2016
- GSX-R600L6 (2016)
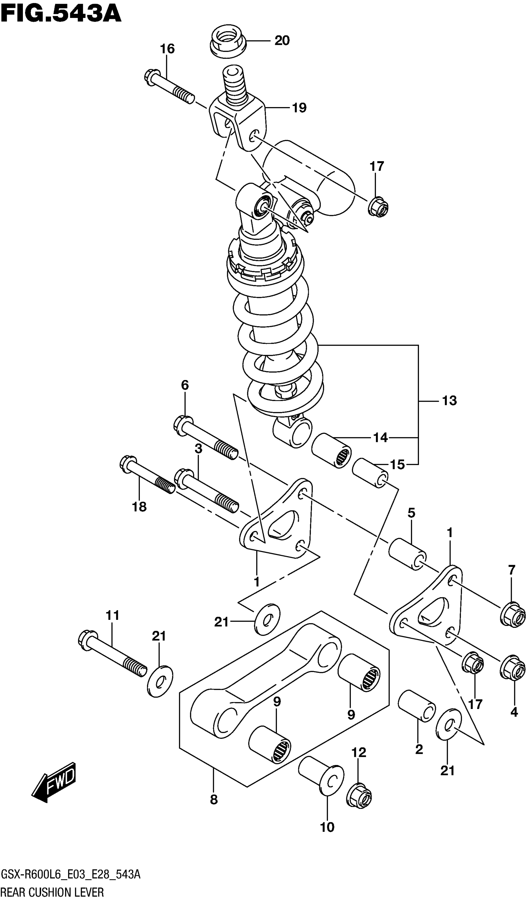
REAR CUSHION LEVER
Suzuki GSX-R600L6 (2016) REAR CUSHION LEVER Diagram
#
Description
Price
13
ABSORBER ASSY, REAR SHOCK
62100-14850-019
Unavailable
13
(BLACK)
62100-14850-019
Unavailable
