- Partiron
- OEM Parts
- Suzuki
- Motorcycle
- 2015
- GSX-R600L5 (2015)
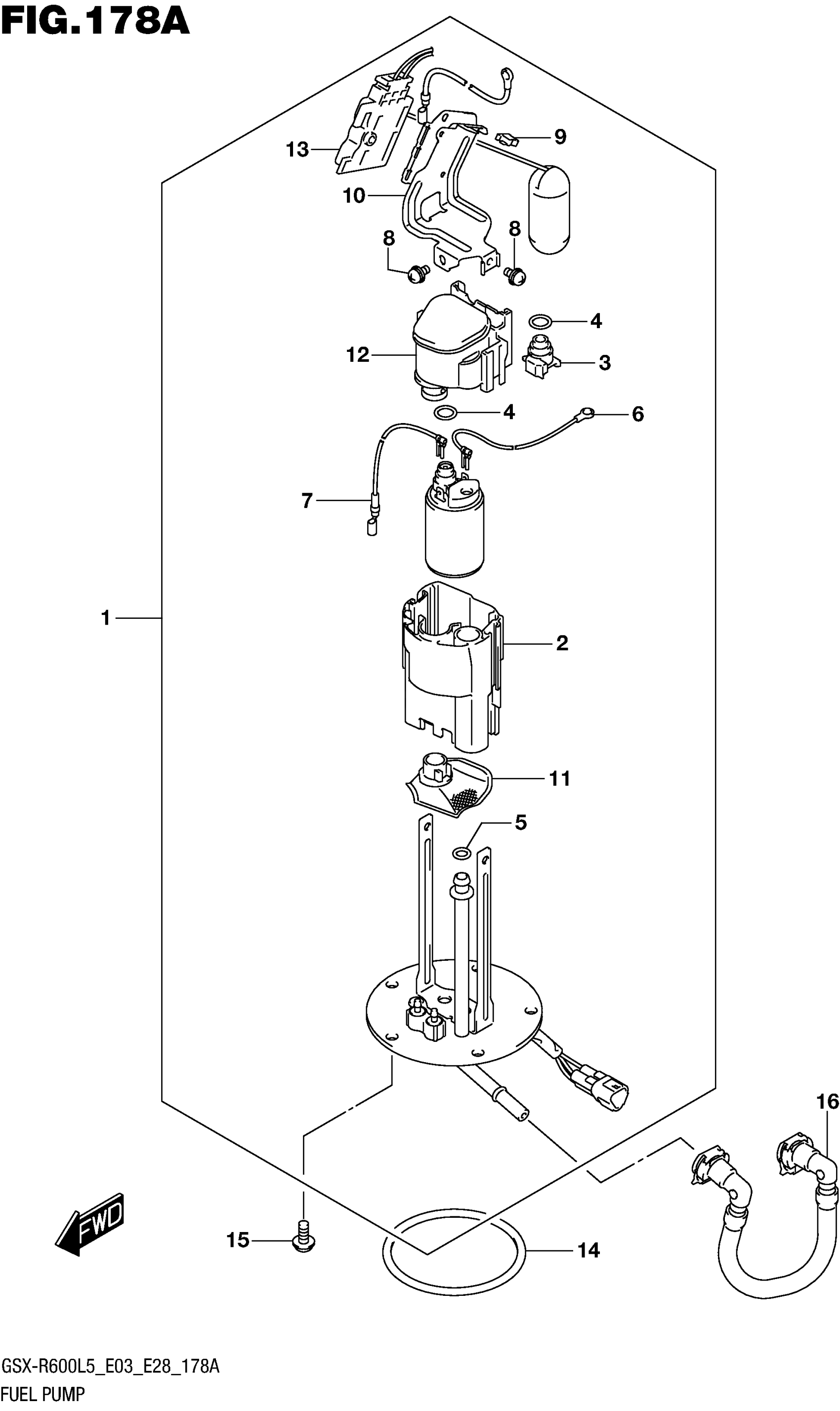
FUEL PUMP
Suzuki GSX-R600L5 (2015) FUEL PUMP Diagram
#
Description
Price
6
WIRE, EARTH
15114-14J00
Unavailable
7
WIRE, LEAD
15115-14J00
Unavailable
9
SADDLE, EDGE
15119-23H00
Unavailable
10
.BRACKET,FUEL GAUGE
15181-14J00
Unavailable
13
GAUGE ASSY, FUEL LEVEL
34810-14J00
Unavailable
