Partiron

Suzuki GSX-R600L1 (2011) UNDER COWLING Diagram

#

Description
Price

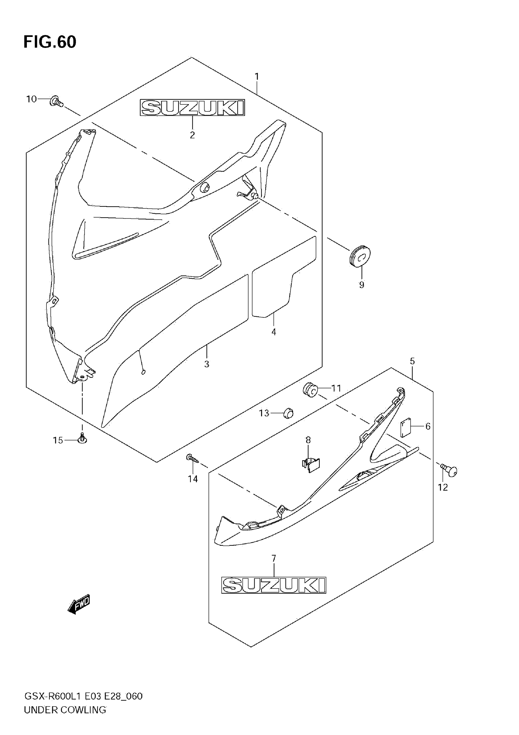
1

COWLING, UNDER RH (WHITE) | FOR GLR

94470-14J00-YBD

$656.83

1

COWLING, UNDER RH (BLACK) | FOR YVB

94470-14J00-YKV

$656.83

1

COWLING, UNDER RH (WHITE) | FOR JDT

94470-14J00-YPA

$656.83

2

.EMBLEM,SUZUKI (SILVER) | FOR YPA

68181-33C20-YD8

$32.05

2

EMBLEM (BLACK) | FOR YBD

68181-33C20-019

$26.75

2

EMBLEM (GRAY) | FOR YKV

68181-33C20-17U

$32.67

3

.SHIELD,UNDER COWL HEAT,R

94479-14J00

$16.50

4

.SHIELD,UNDER COWL HEAT,R

94479-14J10

$15.23

5

COWLING,UNDER,L | FOR GLR This part replaces 94480-14J00-YBD.

94480-14J01-YBD

$283.88

5

COWLING,UNDER,L | FOR YVB This part replaces 94480-14J00-YKV.

94480-14J01-YKV

$428.78

5

COWLING,UNDER,L | FOR JDT This part replaces 94480-14J00-YPA.

94480-14J01-YPA

$283.88

6

.CUSHION,BRACKET NO.1 This part replaces 47161-10FA0.

47161-10FA1

$4.82

7

.EMBLEM,SUZUKI (SILVER) | FOR YPA

68181-33C20-YD8

$32.05

7

EMBLEM (BLACK) | FOR YBD

68181-33C20-019

$26.75

7

EMBLEM (GRAY) | FOR YKV

68181-33C20-17U

$32.67

8

CLAMP

09403-14311

$5.33

9

CUSHION

94478-14J00

$5.92

10

SCREW (5X13) | RH

09139-05064

$2.57

11

CUSHION | LH

09320-09016

$1.97

12

BOLT (6X20) | LH

09139-06190

$4.17

13

CUSHION

09321-10018

$5.45

14

SCREW

03541-0512A

$1.49

15

CLIP

94479-35F00

$5.62