- Partiron
- OEM Parts
- Suzuki
- Motorcycle
- 2011
- GSX-R600L1 (2011)
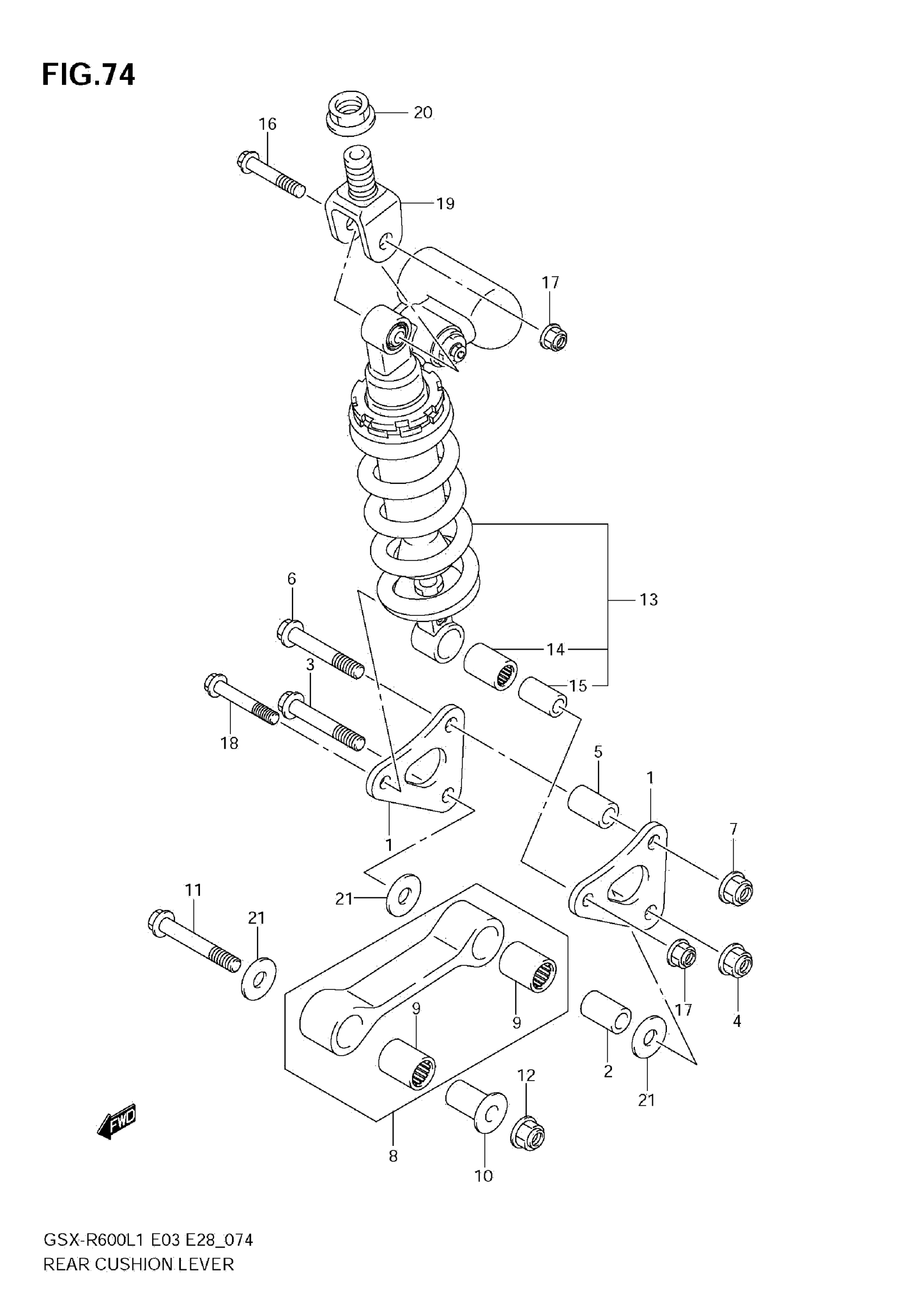
REAR CUSHION LEVER (E33)
Suzuki GSX-R600L1 (2011) REAR CUSHION LEVER (E33) Diagram
#
Description
Price
13
ABSORBER ASSY, REAR SHOCK (BLACK)
62100-14820-019
Unavailable
