Partiron

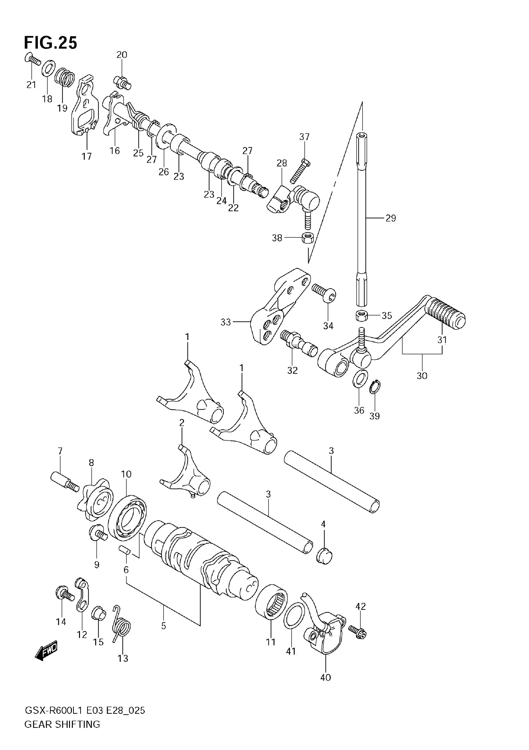
Suzuki GSX-R600L1 (2011) GEAR SHIFTING Diagram

#

Description
Price

1

FORK, GEAR SHIFT, NO.1

25211-01H01

$105.82

2

FORK,GEAR SHIFT NO.3 This part replaces 25231-01H01.

25231-01H02

$78.68

3

SHAFT, GEAR SHIFT FORK

25411-35F00

$29.25

4

PLUG, GEAR SHIFT FORK

25712-37H00

$7.57

5

CAM,GEAR SHIFT

25310-01H00

$256.53

6

PIN (4X13.8)

04221-04089

$1.49

7

BOLT, GEAR SHIFT CAM

25312-42F01

$7.95

8

PLATE, GEAR SHIFT CAM

25381-13E30

$56.68

9

SCREW (6X12)

09136-06147

$3.20

10

BEARING (25X47X8)

09262-25006

$25.54

11

BEARING (25X32X12)

09263-25018

$21.39

12

STOPPER,SHIFT CAM This part replaces 25350-06G00.

25350-06G10

$18.03

13

SPRING, SHIFT CAM STOPPER

25355-01H00

$5.10

14

BOLT,SHIFT CAM STOPPER ARM

25357-01H00

$4.82

15

SPACER, CAM STOPPER

25358-01H00

$10.95

16

SHAFT,GEAR SHIFT

25510-01H00

$116.65

17

PLATE,GEAR SHIFT CAM DRIVE This part replaces 25512-06G10.

25512-06G20

$24.37

18

WASHER, GEAR SHIFT

25519-01H00

$5.98

19

SPRING, GEAR SHIFT RETURN

25518-01H00

$3.70

20

STOPPER, GEAR SHIFT ARM

25671-01011

$4.48

21

SCREW (6X16)

09126-06014

$2.06

22

WASHER (14X29X0.8) | LH

09160-14016

$1.93

23

BEARING (14X20X12)

09263-14027

$13.52

24

SEAL, SHIFT SHAFT (14X22X6) This part replaces 09283-14005.

09283-14006

$6.70

25

SPRING

09444-20001

$5.24

26

SHIM (14X24X1)

09181-14195

$2.71

27

CIRCLIP

08331-3114A

$1.91

28

ARM,GEAR SHIFT This part replaces 25520-01H00.

25520-01H01

$45.52

29

ROD, GEAR SHIFT LINK

25525-01H00

$31.40

30

LEVER ASSY,GEAR This part replaces 25600-14J00.

25600-14J01

$109.72

31

RUBBER, GEAR PEDAL

25652-20C00

$5.44

32

SHAFT, GEAR SHIFT LEVER

25617-03F10

$12.33

33

BRACKET,GEAR SHIFT LEVER

25681-14J00

$72.42

34

BOLT (8X20)

09106-08167

$3.35

35

NUT

09140-06025

$2.05

36

WASHER (12.5X20X1)

09160-12011

$1.54

37

BOLT

01500-0625A

$1.78

38

.NUT

08310-00067

$2.13

39

CIRCLIP

08331-3112A

$1.78

40

SENSOR ASSY,GEAR POSITION This part replaces 37730-14J00.

37730-14J01

$73.86

41

O RING (D:2.4,ID:26.2)

09280-26005

$2.30

42

BOLT (5X16)

09106-05023

$2.92