- Partiron
- OEM Parts
- Suzuki
- Motorcycle
- 2009
- GSX-R600 (2009)
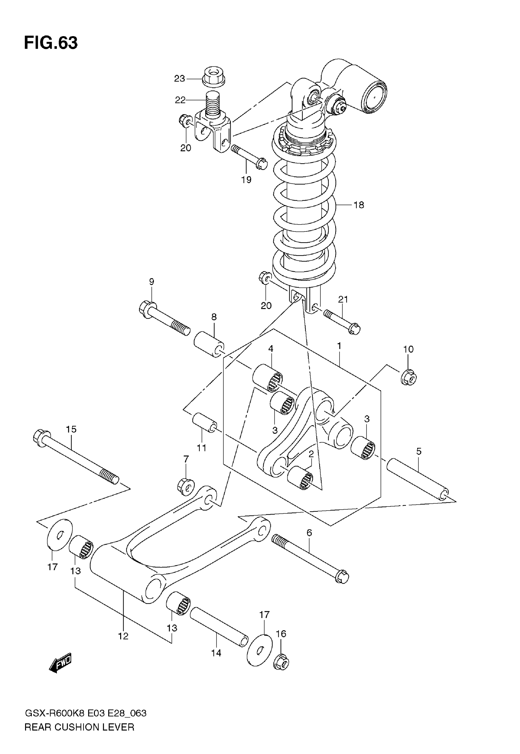
REAR CUSHION LEVER
Suzuki GSX-R600 (2009) REAR CUSHION LEVER Diagram
#
Description
Price
18
ABSORBER ASSY, REAR SHOCK | E3,E33
62100-37H10-163
Unavailable
18
ABSORBER ASSY, REAR SHOCK | E28
62100-37H00-163
Unavailable
22
BRACKET, ABSORBER
62993-35F00
Unavailable
