- Partiron
- OEM Parts
- Suzuki
- Motorcycle
- 2009
- GSX-R600 (2009)
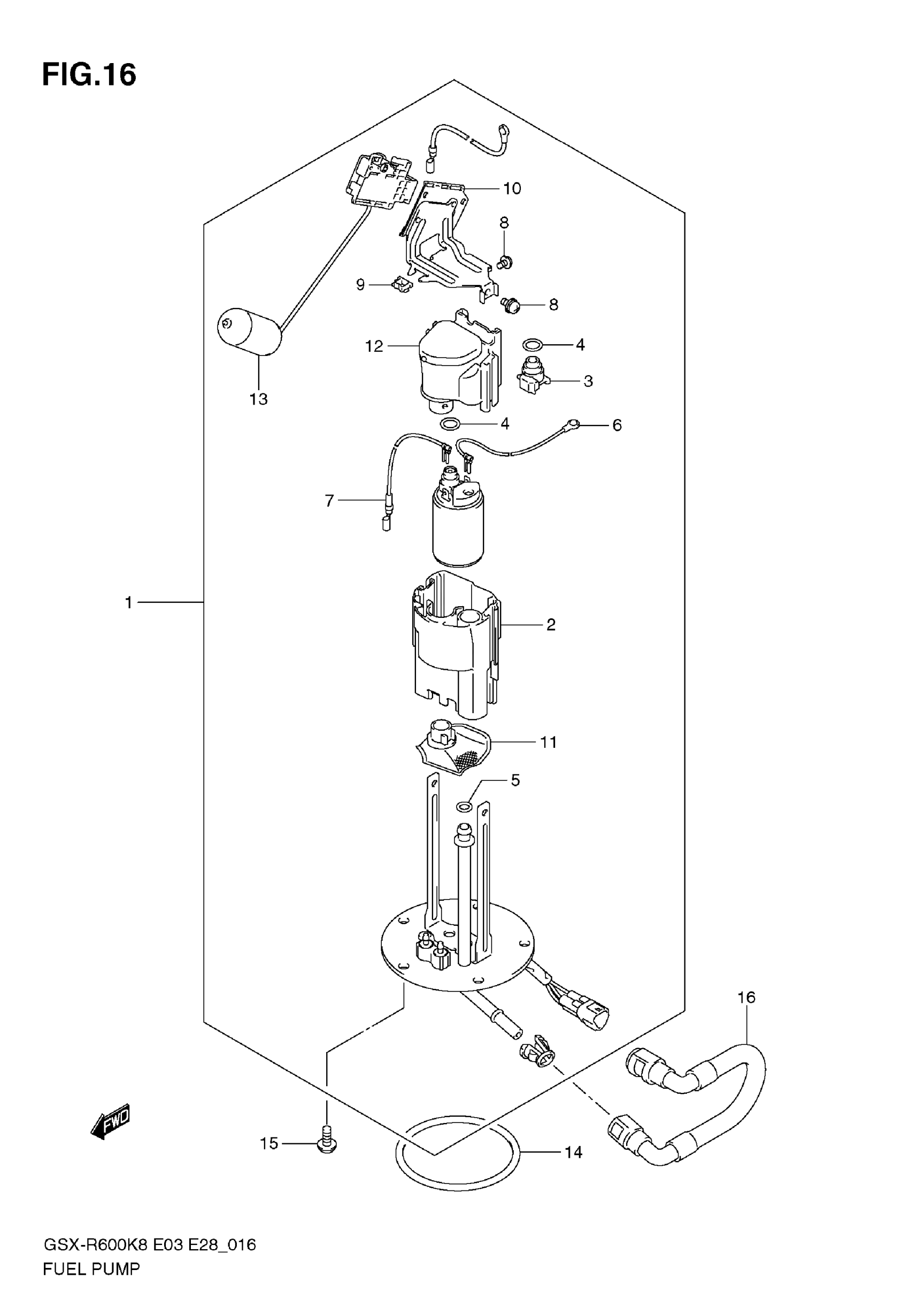
FUEL PUMP
Suzuki GSX-R600 (2009) FUEL PUMP Diagram
#
Description
Price
6
WIRE, EARTH
15114-27G00
Unavailable
9
SADDLE, EDGE
15119-23H00
Unavailable
