- Partiron
- OEM Parts
- Suzuki
- Motorcycle
- 2007
- GSX-R600 (2007)
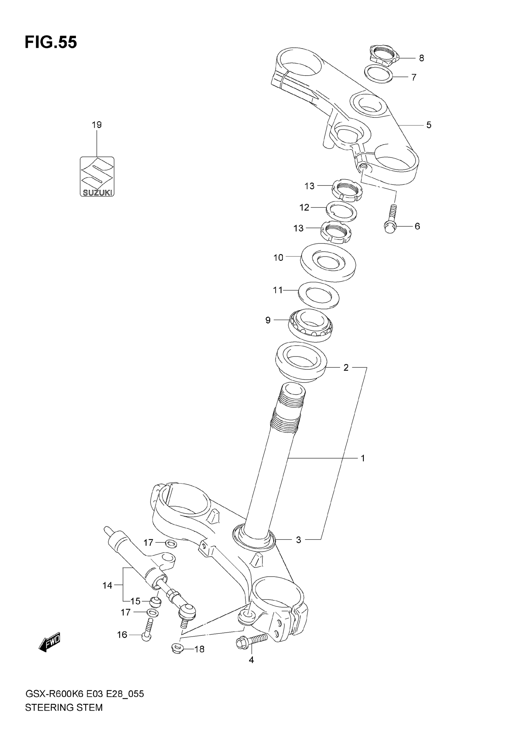
STEERING STEM
Suzuki GSX-R600 (2007) STEERING STEM Diagram
#
Description
Price
14
DAMPER ASSY, STEERING | Includes Item(s) 15
51750-40F80
Unavailable
