- Partiron
- OEM Parts
- Suzuki
- Motorcycle
- 2005
- GSX-R600 (2005)
FRAME COVER (MODEL K4)
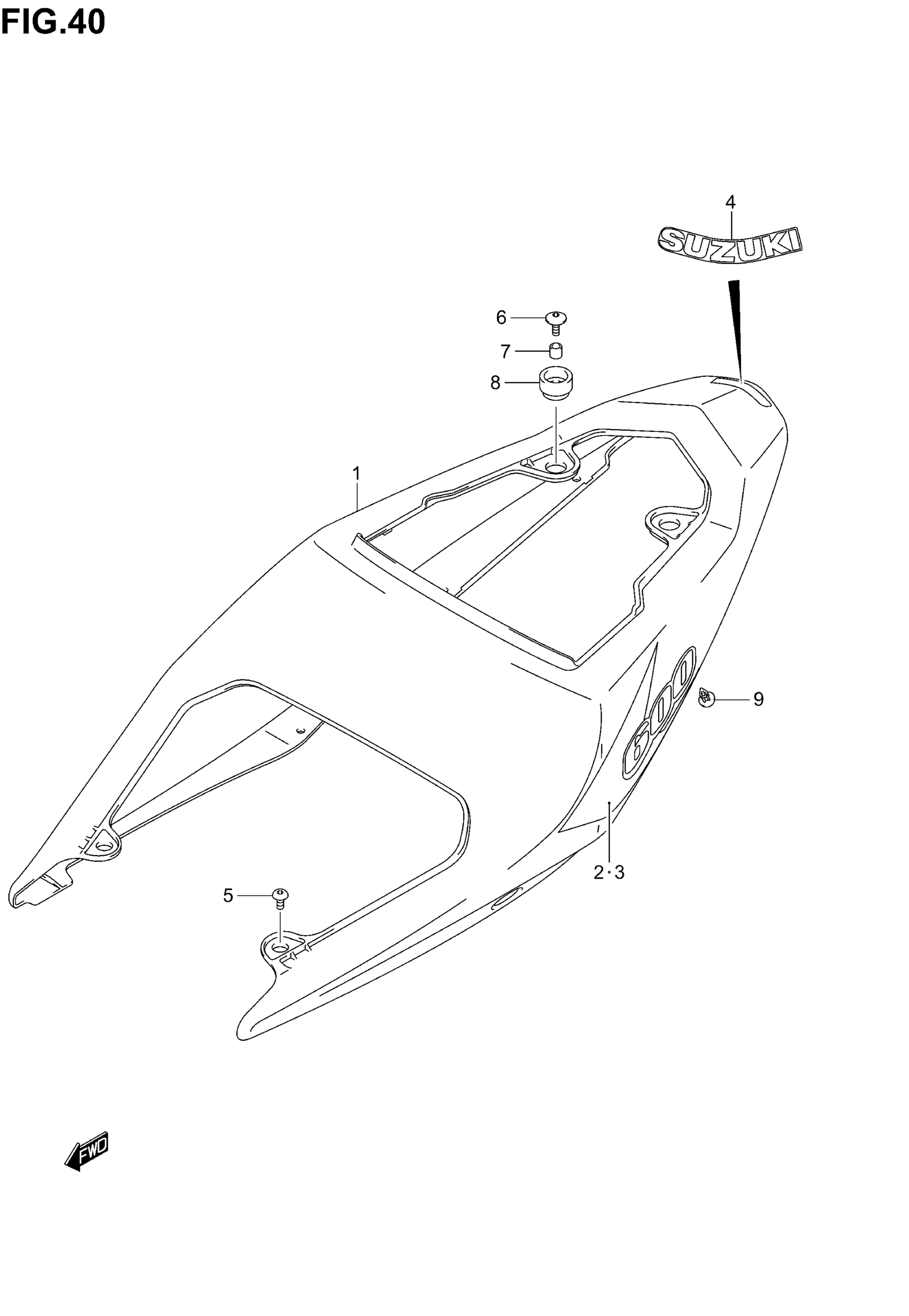
Suzuki GSX-R600 (2005) FRAME COVER (MODEL K4) Diagram
#
Description
Price
1
COVER,FRAME This part replaces 47100-29G00-YEC.
47110-29G00
Unavailable
1
COVER,FRAME | Includes Item(s) 2 - 4 This part replaces 47100-29G00-019.
47110-29G00
Unavailable
2
TAPE, RH | FOR YBD
68135-29G00-AVG
Unavailable
2
TAPE, RH | FOR YEC
68135-29G00-AVH
Unavailable
2
TAPE, RH | FOR 019
68135-29G00-ATK
Unavailable
3
TAPE, LH | FOR YBD
68145-29G00-AVG
Unavailable
3
TAPE, LH | FOR YEC
68145-29G00-AVH
Unavailable
3
TAPE, FRONT LH | FOR 019
68145-29G00-ATK
Unavailable
