- Partiron
- OEM Parts
- Suzuki
- Motorcycle
- 2003
- GSX-R600 (2003)
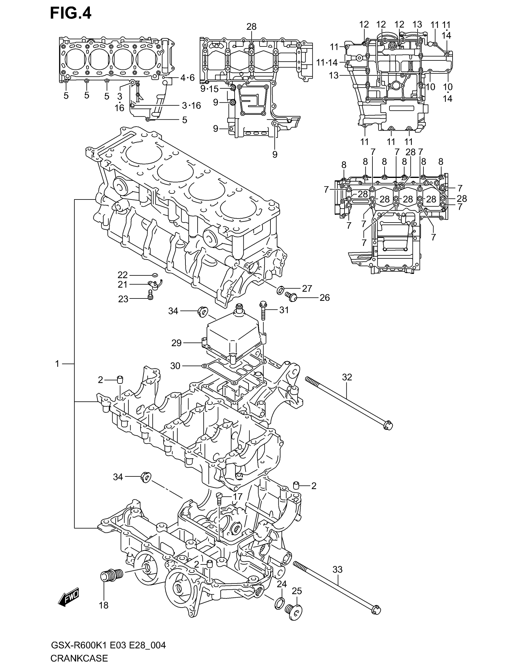
CRANKCASE
Suzuki GSX-R600 (2003) CRANKCASE Diagram
#
Description
Price
1
CRANKCASE SET | Includes Item(s) 2 - 20
11301-39841
Unavailable
29
COVER, BREATHER
11370-35F00
Unavailable
