- Partiron
- OEM Parts
- Suzuki
- Motorcycle
- 2017
- GSX-R1000R L7 (2017)
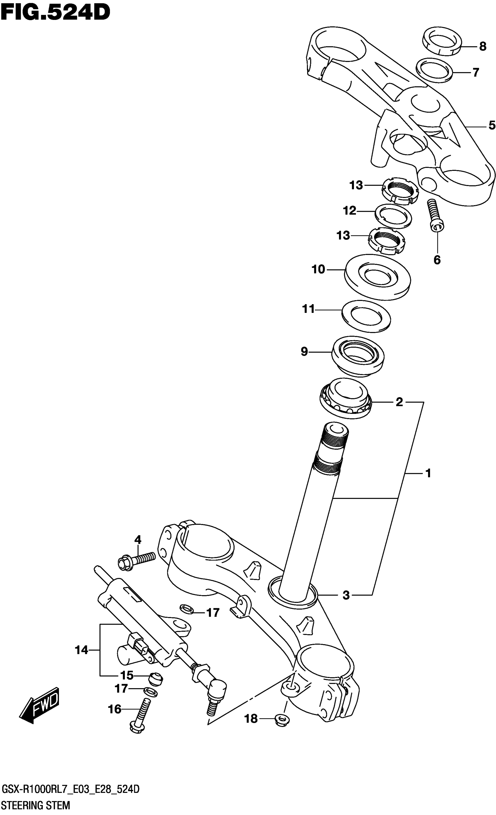
STEERING STEM (GSX-R1000RZL7 E03)
Suzuki GSX-R1000R L7 (2017) STEERING STEM (GSX-R1000RZL7 E03) Diagram
#
Description
Price
STEERING STEM (GSX-R1000RZL7 E03)
#
Edit ride
