- Partiron
- OEM Parts
- Suzuki
- Motorcycle
- 2017
- GSX-R1000R L7 (2017)
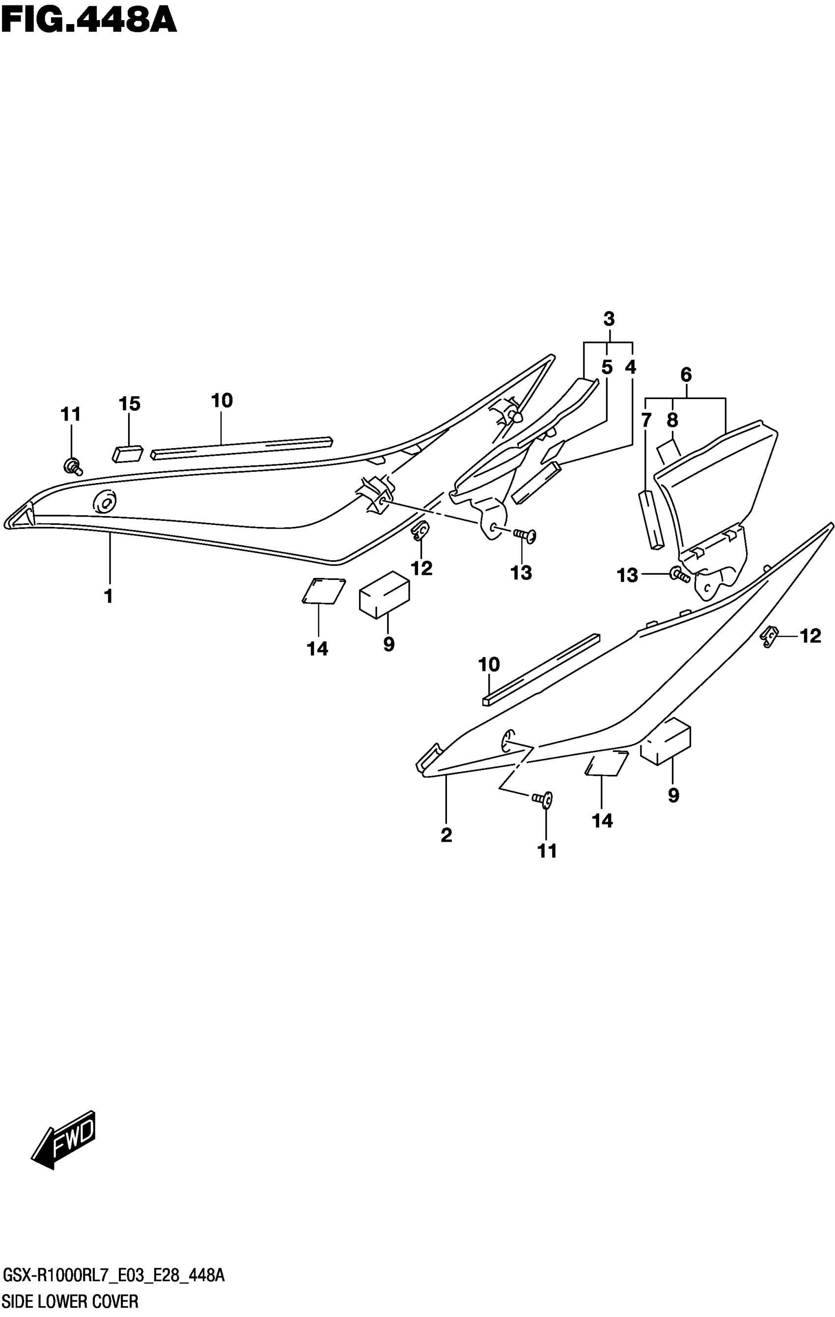
SIDE LOWER COVER (GSX-R1000RL7 E03)
Suzuki GSX-R1000R L7 (2017) SIDE LOWER COVER (GSX-R1000RL7 E03) Diagram
#
Description
Price
SIDE LOWER COVER (GSX-R1000RL7 E03)
#
Edit ride
