- Partiron
- OEM Parts
- Suzuki
- Motorcycle
- 2013
- GSX-R1000L3 (2013)
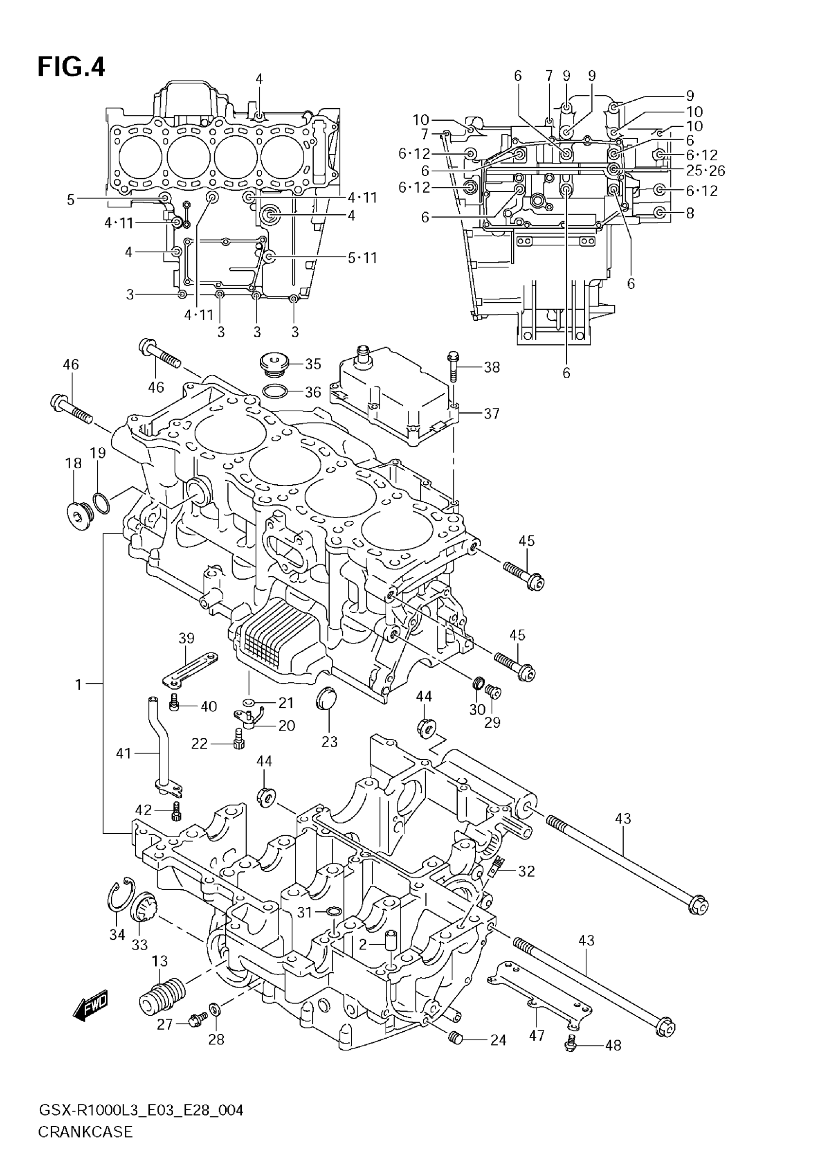
CRANKCASE
Suzuki GSX-R1000L3 (2013) CRANKCASE Diagram
#
Description
Price
39
PLATE, BREATHER OIL RETURN
11382-47H00
Unavailable
41
PIPE, BREATHER OIL RETURN
11383-47H00
Unavailable
47
PLATE, LOWER
11322-47H00
Unavailable
