- Partiron
- OEM Parts
- Suzuki
- Motorcycle
- 2012
- GSX-R1000L2 (2012)
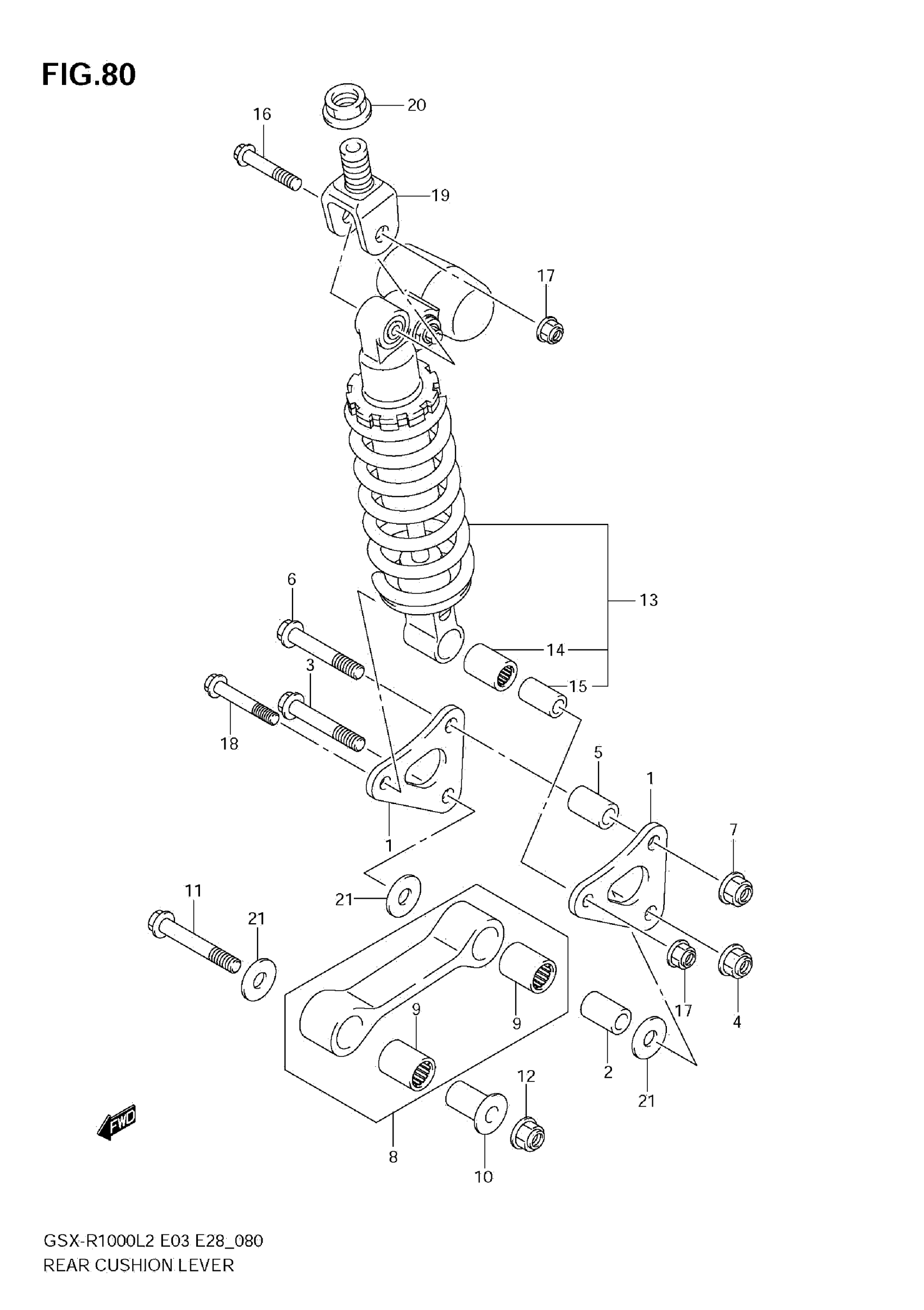
REAR CUSHION LEVER (GSX-R1000 L2 E33)
Suzuki GSX-R1000L2 (2012) REAR CUSHION LEVER (GSX-R1000 L2 E33) Diagram
#
Description
Price
13
ABSORBER ASSY, REAR SHOCK (BLACK)
62100-47850-019
Unavailable
