- Partiron
- OEM Parts
- Suzuki
- Motorcycle
- 2012
- GSX-R1000L2 (2012)
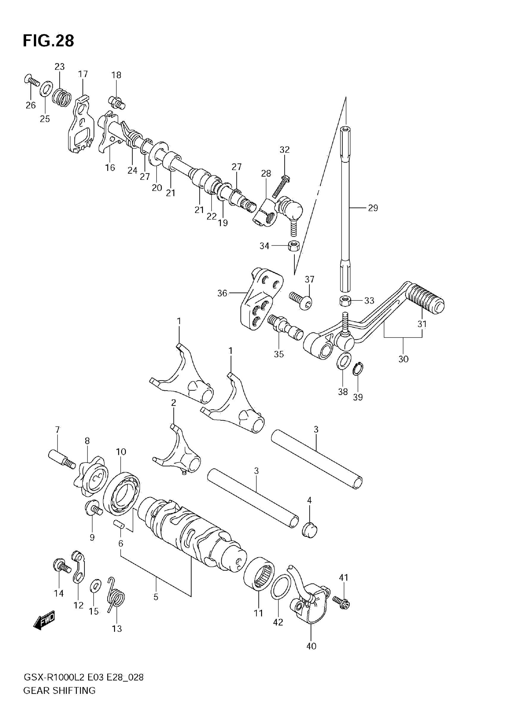
GEAR SHIFTING
Suzuki GSX-R1000L2 (2012) GEAR SHIFTING Diagram
#
Description
Price
5
CAM, GEAR SHIFT
25310-47H00
Unavailable
16
SHAFT, GEAR SHIFT
25510-47H00
Unavailable
36
BRACKET, GEAR SHIFT LEVER
25681-47H01
Unavailable
