- Partiron
- OEM Parts
- Suzuki
- Motorcycle
- 2012
- GSX-R1000L2 (2012)
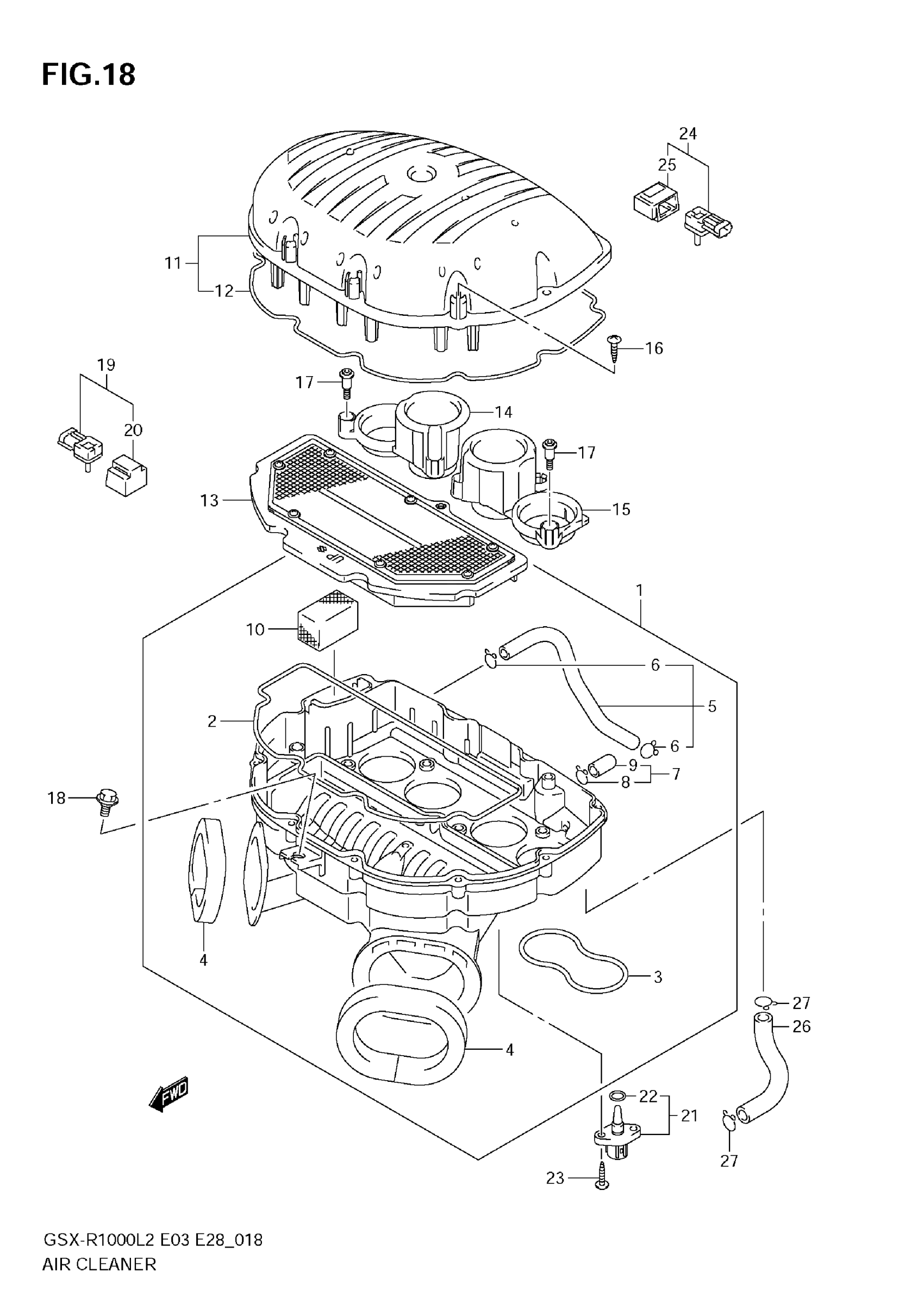
AIR CLEANER
Suzuki GSX-R1000L2 (2012) AIR CLEANER Diagram
#
Description
Price
11
CAP, AIR CLEANER
13740-47H00
Unavailable
14
FUNNEL, OUTLET RH
13881-47H00
Unavailable
15
FUNNEL, OUTLET LH
13882-47H00
Unavailable
20
COVER
15625-29G40
Unavailable
25
COVER
15625-29G30
Unavailable
26
HOSE, ISC VALVE
13697-47H00
Unavailable
