- Partiron
- OEM Parts
- Suzuki
- Motorcycle
- 2011
- GSX-R1000L1 (2011)
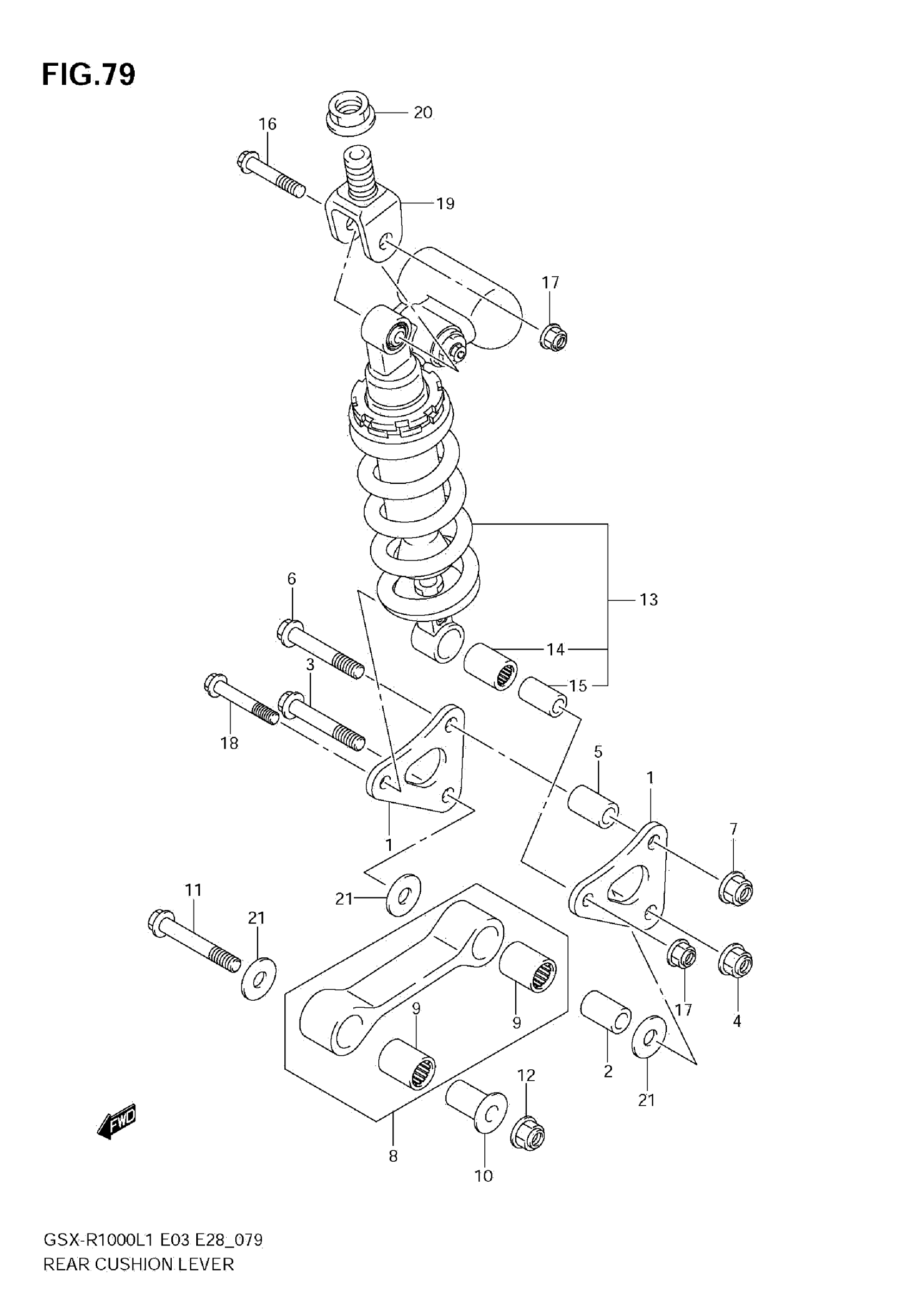
REAR CUSHION LEVER (GSX-R1000L1 E28)
Suzuki GSX-R1000L1 (2011) REAR CUSHION LEVER (GSX-R1000L1 E28) Diagram
#
Description
Price
13
ABSORBER ASSY, REAR SHOCK (WHITE)
62100-47810-28W
Unavailable
