- Partiron
- OEM Parts
- Suzuki
- Motorcycle
- 2011
- GSX-R1000L1 (2011)
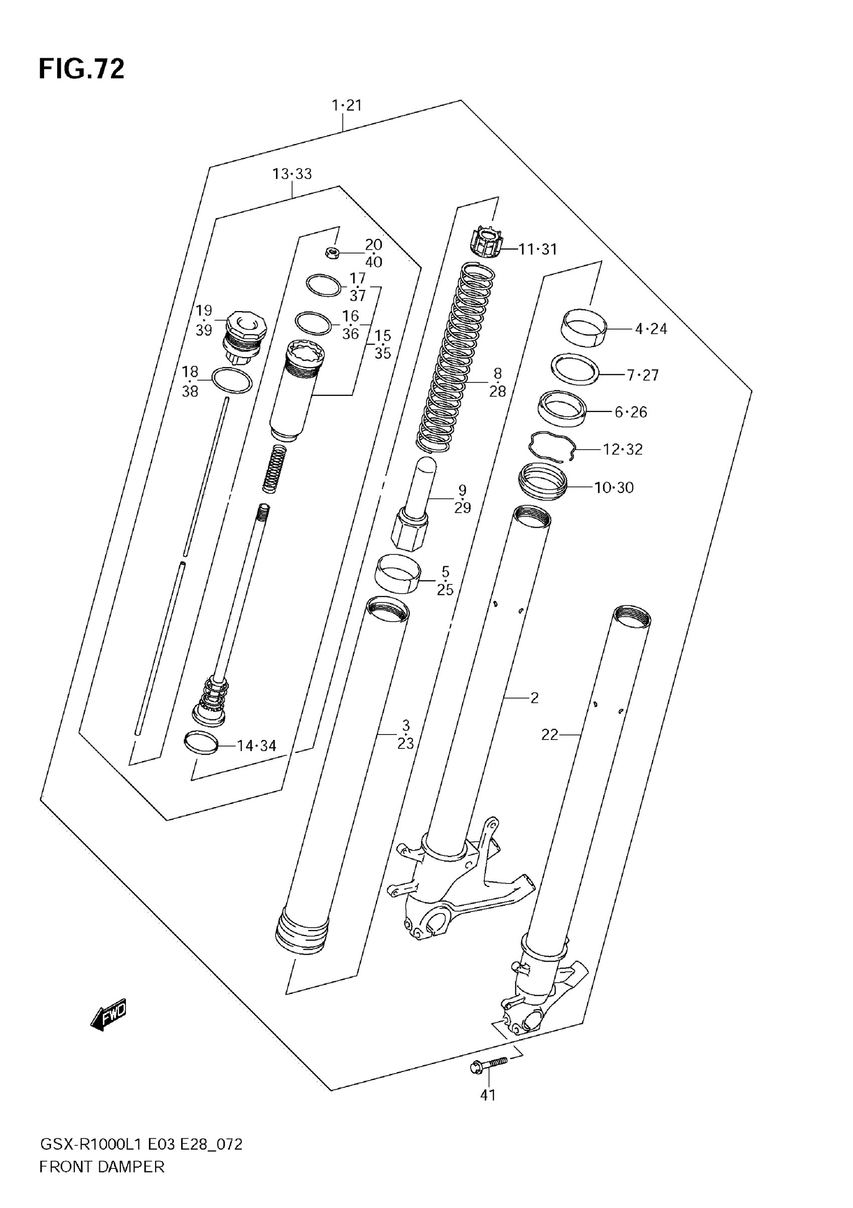
FRONT DAMPER
Suzuki GSX-R1000L1 (2011) FRONT DAMPER Diagram
#
Description
Price
1
DAMPER ASSY, FRONT FORK RH
51103-47H00
Unavailable
3
TUBE, OUTER
51131-47H00
Unavailable
8
SPRING
51171-47H00
Unavailable
11
COLLAR, SPRING
51175-47H00
Unavailable
19
BOLT
51189-47H00
Unavailable
20
NUT
51827-29G00
Unavailable
21
DAMPER ASSY, FRONT FORK LH
51104-47H00
Unavailable
22
TUBE, INNER LH
51120-47H00
Unavailable
23
TUBE, OUTER
51131-47H00
Unavailable
28
SPRING
51171-47H00
Unavailable
31
COLLAR, SPRING
51175-47H00
Unavailable
39
BOLT
51189-47H00
Unavailable
40
NUT
51827-29G00
Unavailable
