- Partiron
- OEM Parts
- Suzuki
- Motorcycle
- 2011
- GSX-R1000L1 (2011)
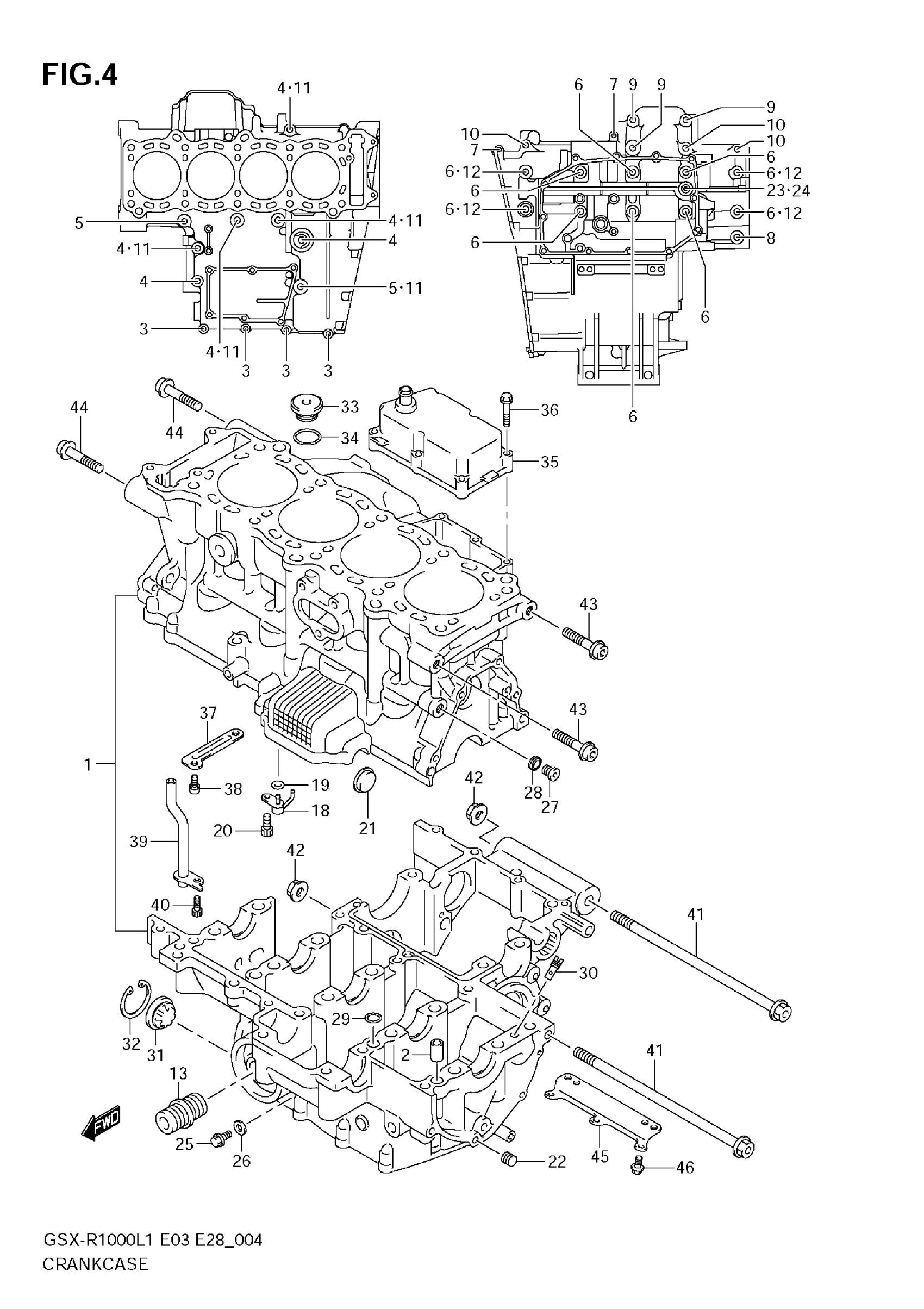
CRANKCASE
Suzuki GSX-R1000L1 (2011) CRANKCASE Diagram
#
Description
Price
1
CRANKCASE SET
11300-47880
Unavailable
37
PLATE, BREATHER OIL RETURN
11382-47H00
Unavailable
39
PIPE, BREATHER OIL RETURN
11383-47H00
Unavailable
45
PLATE, LOWER
11322-47H00
Unavailable
