- Partiron
- OEM Parts
- Suzuki
- Motorcycle
- 2024
- GSX-R1000AM4 (2024)
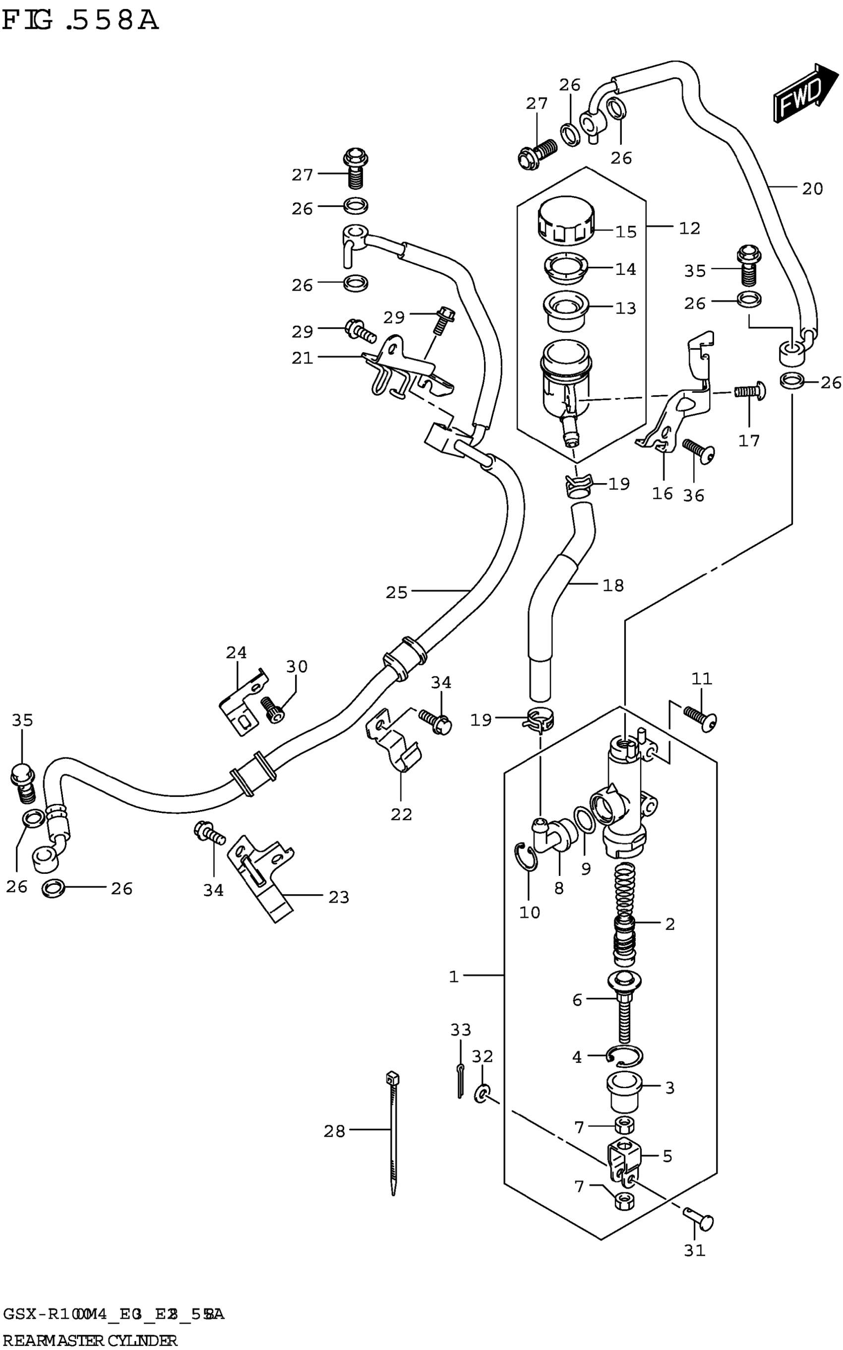
REAR MASTER CYLINDER
Suzuki GSX-R1000AM4 (2024) REAR MASTER CYLINDER Diagram
#
Description
Price
19
CLIP
09401-12412
Unavailable
REAR MASTER CYLINDER
#
19
09401-12412
Unavailable
Edit ride
