- Partiron
- OEM Parts
- Suzuki
- Motorcycle
- 2020
- GSX-R1000AM0 (2020)
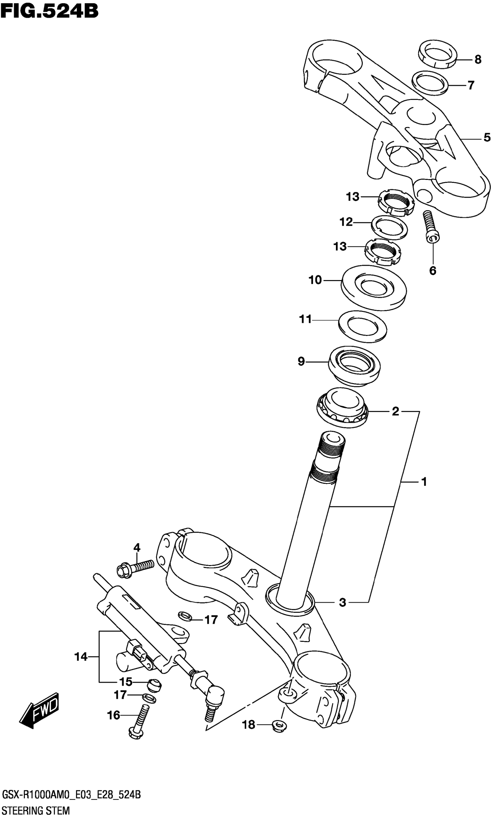
STEERING STEM (GSX-R1000RA)
Suzuki GSX-R1000AM0 (2020) STEERING STEM (GSX-R1000RA) Diagram
#
Description
Price
STEERING STEM (GSX-R1000RA)
#
Edit ride
