- Partiron
- OEM Parts
- Suzuki
- Motorcycle
- 2020
- GSX-R1000AM0 (2020)
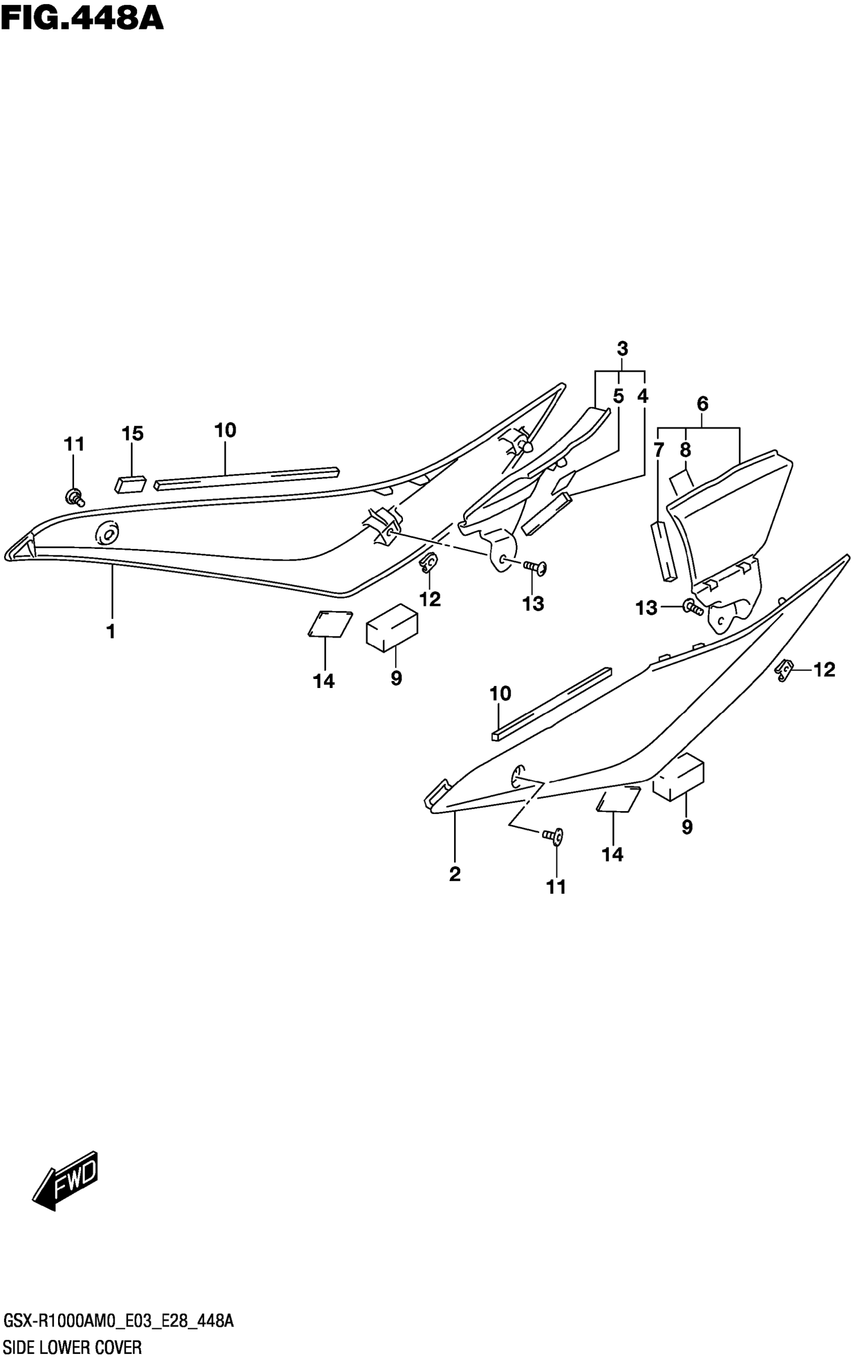
SIDE LOWER COVER (GSX-R1000A)
Suzuki GSX-R1000AM0 (2020) SIDE LOWER COVER (GSX-R1000A) Diagram
#
Description
Price
SIDE LOWER COVER (GSX-R1000A)
#
Edit ride
