- Partiron
- OEM Parts
- Suzuki
- Motorcycle
- 2017
- GSX-R1000AL (2017)
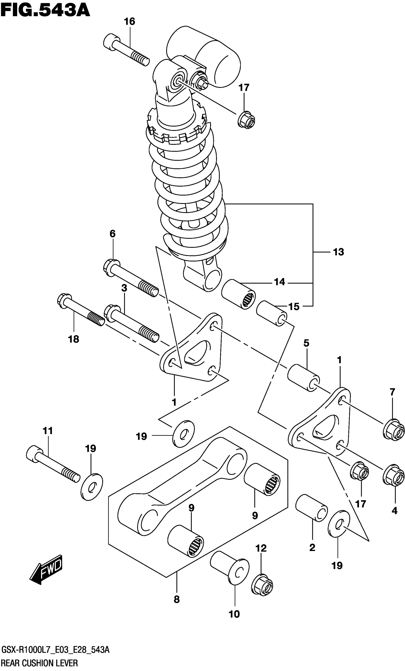
REAR CUSHION LEVER (GSX-R1000L7 E03)
Suzuki GSX-R1000AL (2017) REAR CUSHION LEVER (GSX-R1000L7 E03) Diagram
#
Description
Price
REAR CUSHION LEVER (GSX-R1000L7 E03)
#
Edit ride
