- Partiron
- OEM Parts
- Suzuki
- Motorcycle
- 2009
- GSX-R1000 (2009)
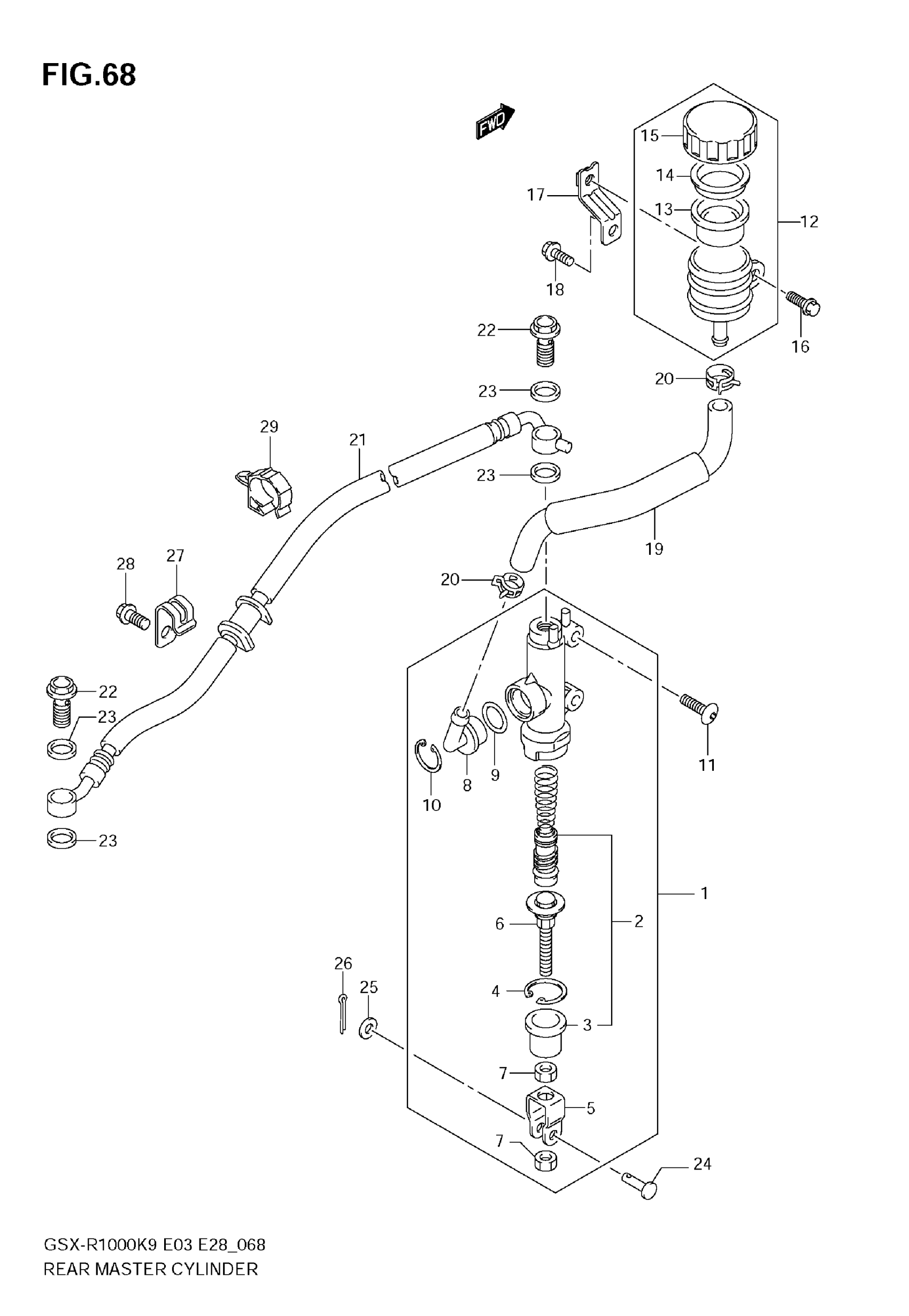
REAR MASTER CYLINDER
Suzuki GSX-R1000 (2009) REAR MASTER CYLINDER Diagram
#
Description
Price
19
HOSE, RESERVOIR TANK
69730-47H00
Unavailable
