- Partiron
- OEM Parts
- Suzuki
- Motorcycle
- 2008
- GSX-R1000 (2008)
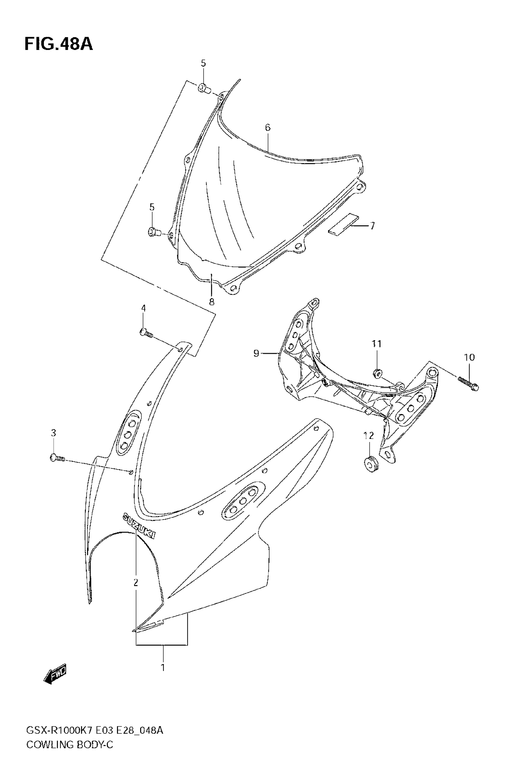
COWLING BODY (MODEL K8)
Suzuki GSX-R1000 (2008) COWLING BODY (MODEL K8) Diagram
#
Description
Price
1
BODY,COWLING | FOR FGF; Includes Item(s) 2 - 2 This part replaces 94410-21H10-YBD.
94410-21H11-YBD
$354.28
