- Partiron
- OEM Parts
- Suzuki
- Motorcycle
- 2006
- GSX-R1000 (2006)
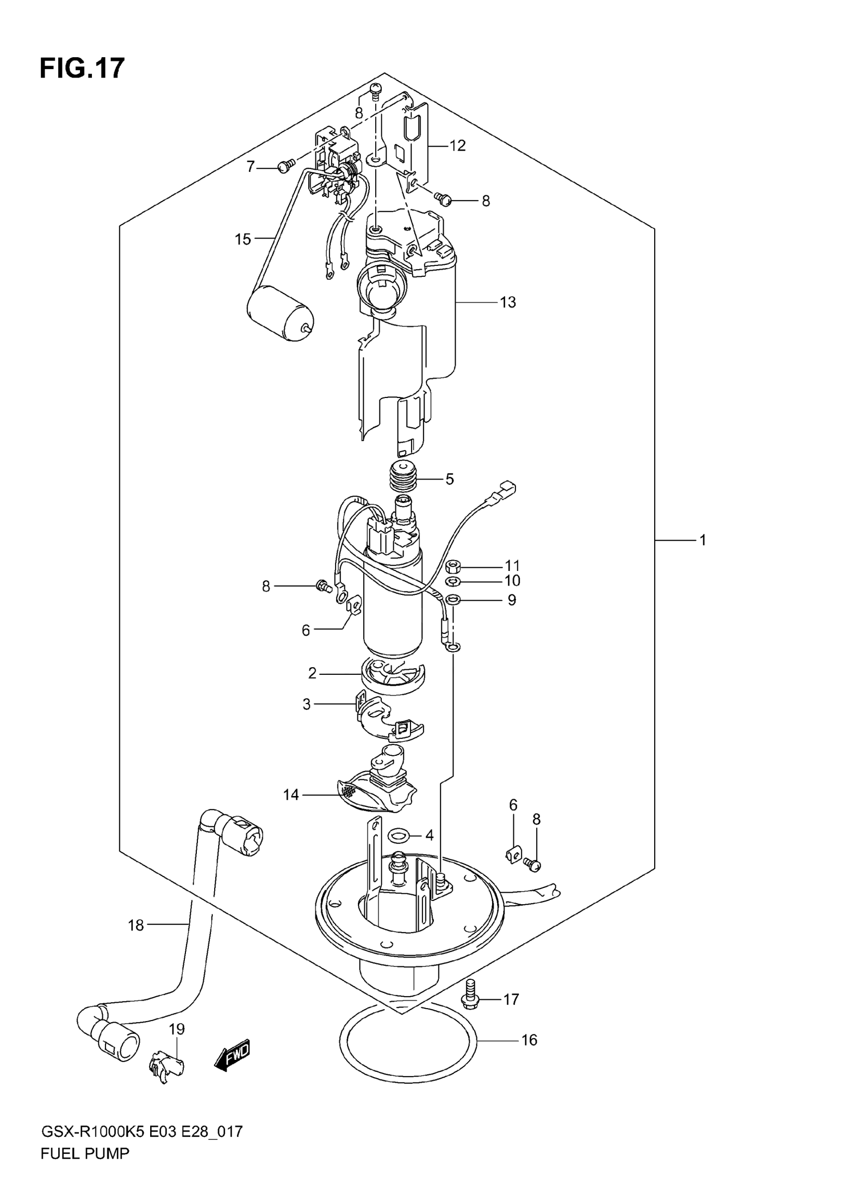
FUEL PUMP
Suzuki GSX-R1000 (2006) FUEL PUMP Diagram
#
Description
Price
11
NUT
15173-35F00
Unavailable
12
BRACKET, FUEL GAUGE
15181-41G00
Unavailable
