- Partiron
- OEM Parts
- Suzuki
- Motorcycle
- 2006
- GSX-R1000 (2006)
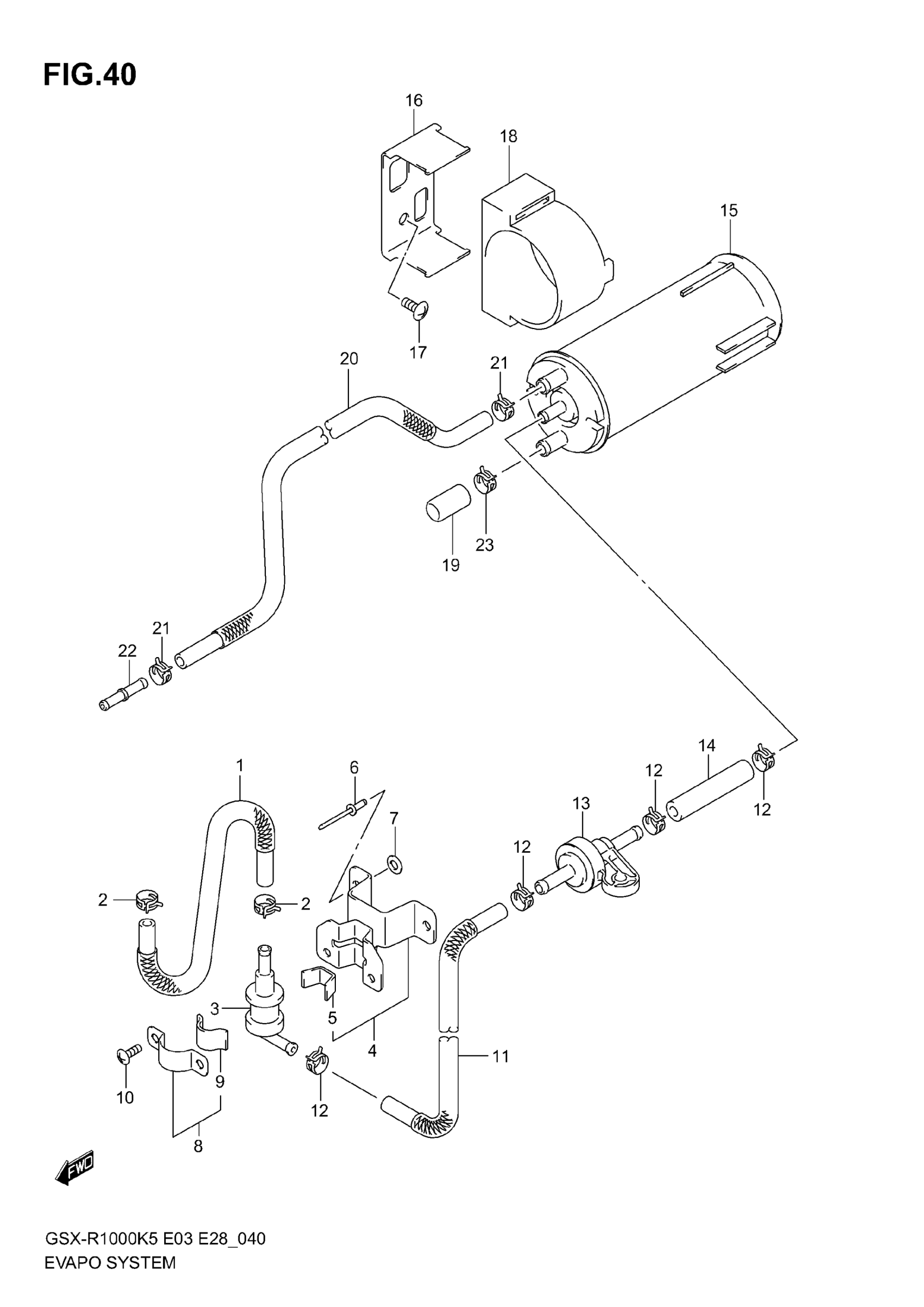
EVAPO SYSTEM (E33)
Suzuki GSX-R1000 (2006) EVAPO SYSTEM (E33) Diagram
#
Description
Price
1
HOSE, TANK BREATHER VALVE
44434-41G00
Unavailable
4
BRACKET, BREATHER VALVE | Includes Item(s) 5
44890-41G00
Unavailable
11
HOSE, VALVE & 2 WAY VALVE
44435-41G00
Unavailable
16
BRACKET, CANISTER
44881-41G00
Unavailable
20
HOSE, PURGE
44436-41G00
Unavailable
22
JOINT
09367-06009
Unavailable
