- Partiron
- OEM Parts
- Suzuki
- Motorcycle
- 2004
- GSX-R1000 (2004)
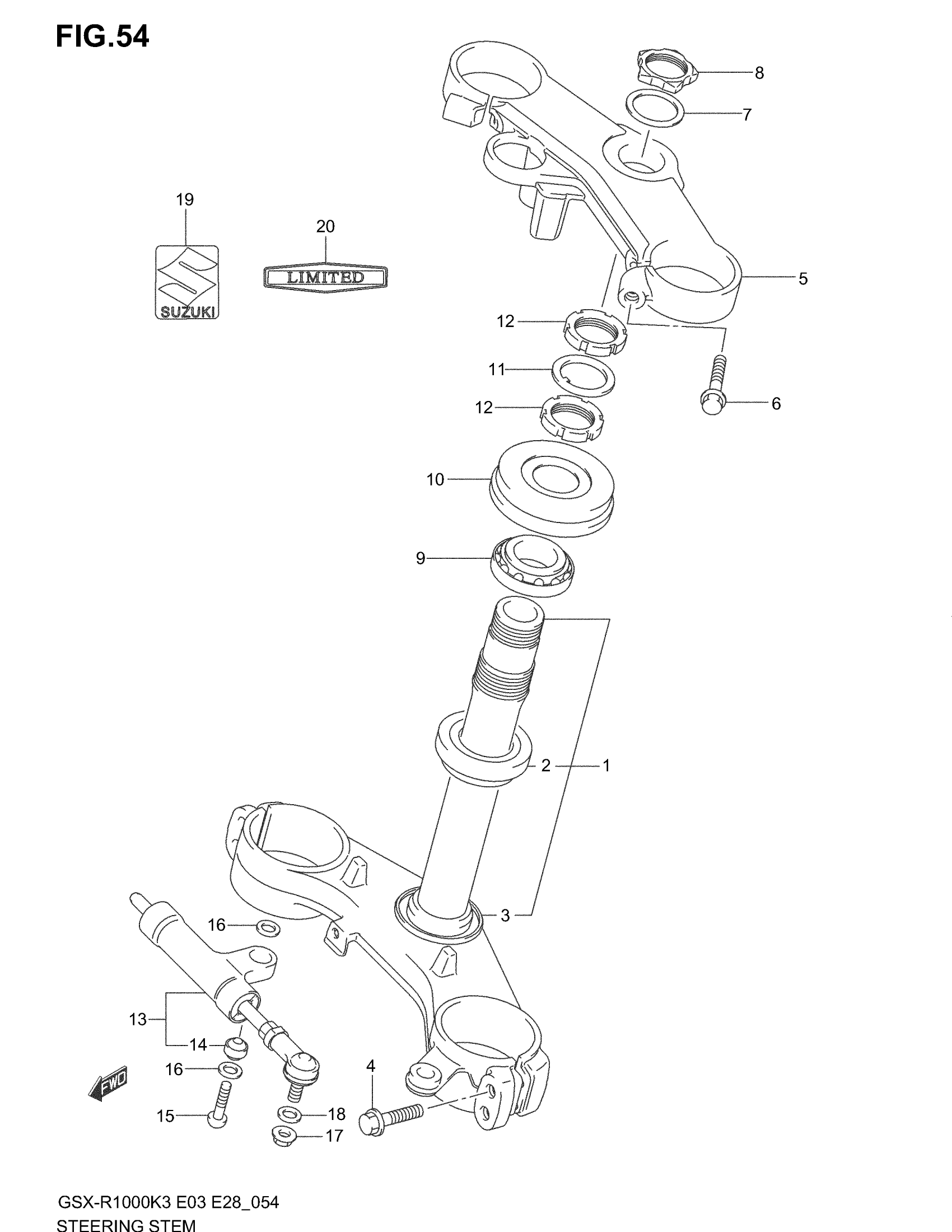
STEERING STEM
Suzuki GSX-R1000 (2004) STEERING STEM Diagram
#
Description
Price
1
STEM, STEERING | Includes Item(s) 2 - 3
51410-40F10
Unavailable
5
HEAD, STEERING STEM
51311-40F10
Unavailable
13
DAMPER ASSY, STEERING | Includes Item(s) 14
51750-40F20
Unavailable
20
EMBLEM, "LIMITED" | GSX-R1000ZK4
68281-35F10
Unavailable
