- Partiron
- OEM Parts
- Suzuki
- Motorcycle
- 2004
- GSX-R1000 (2004)
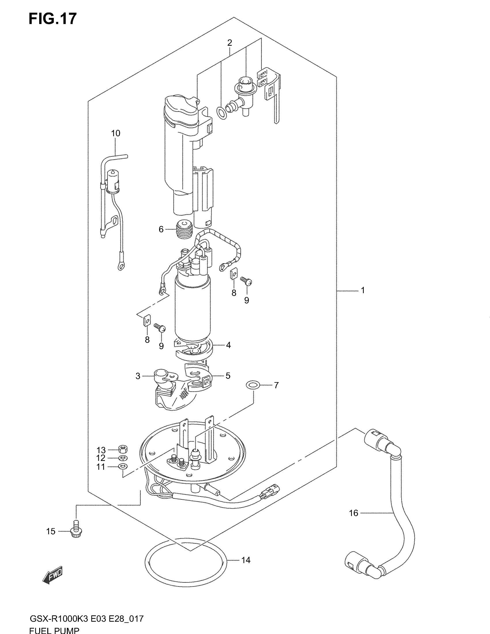
FUEL PUMP
Suzuki GSX-R1000 (2004) FUEL PUMP Diagram
#
Description
Price
13
NUT
15173-35F00
Unavailable
FUEL PUMP
#
13
15173-35F00
Unavailable
Edit ride
