Partiron

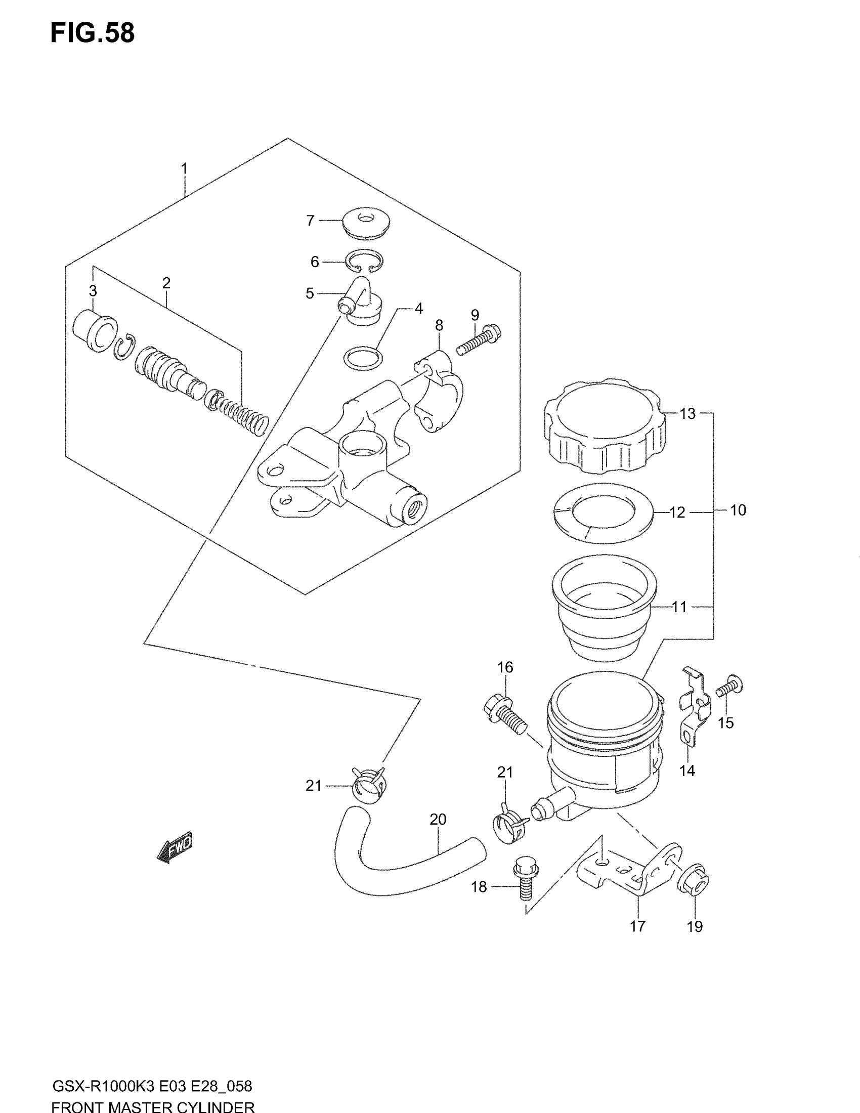
Suzuki GSX-R1000 (2004) FRONT MASTER CYLINDER Diagram

#

Description
Price

1

CYLINDER ASSY, FRONT MASTER | Includes Item(s) 2 - 9

59600-18G00

$295.83

2

PISTON/CUP SET

59600-45870

$52.73

3

BOOT

59666-44300

$5.80

4

O RING

69686-34200

$2.93

5

CONNECTOR

59672-17C00

$9.31

6

CIRCLIP

69674-00B20

$3.97

7

COVER, DUST

59673-17C00

$8.65

8

.HOLDER

59671-36500

$12.21

9

BOLT

59675-02FA0

$3.82

10

TANK ASSY, RESERVOIR | Includes Item(s) 11 - 13

59740-07D00

$60.40

11

DIAPHRAGM

59667-18441

$10.28

12

PLATE

59668-18441

$4.52

13

CAP

59669-07D00

$31.72

14

PLATE, TANK CAP

59743-17C00

$9.31

15

SCREW This part replaces 02142-04103.

02142-0410A

$1.49

16

BOLT This part replaces 01547-06163.

01547-0616B

$2.45

17

BRACKET, RESERVOIR TANK

59751-40F00

$16.32

18

BOLT This part replaces 01547-06123.

01547-0612B

$1.49

19

NUT This part replaces 08316-10063.

08316-1006B

$2.50

20

HOSE, RESERVOIR TANK

59731-32C00

$16.43

21

CLAMP, HOSE

59735-17C00

$4.93