- Partiron
- OEM Parts
- Suzuki
- Motorcycle
- 1993
- GSF400 (1993)
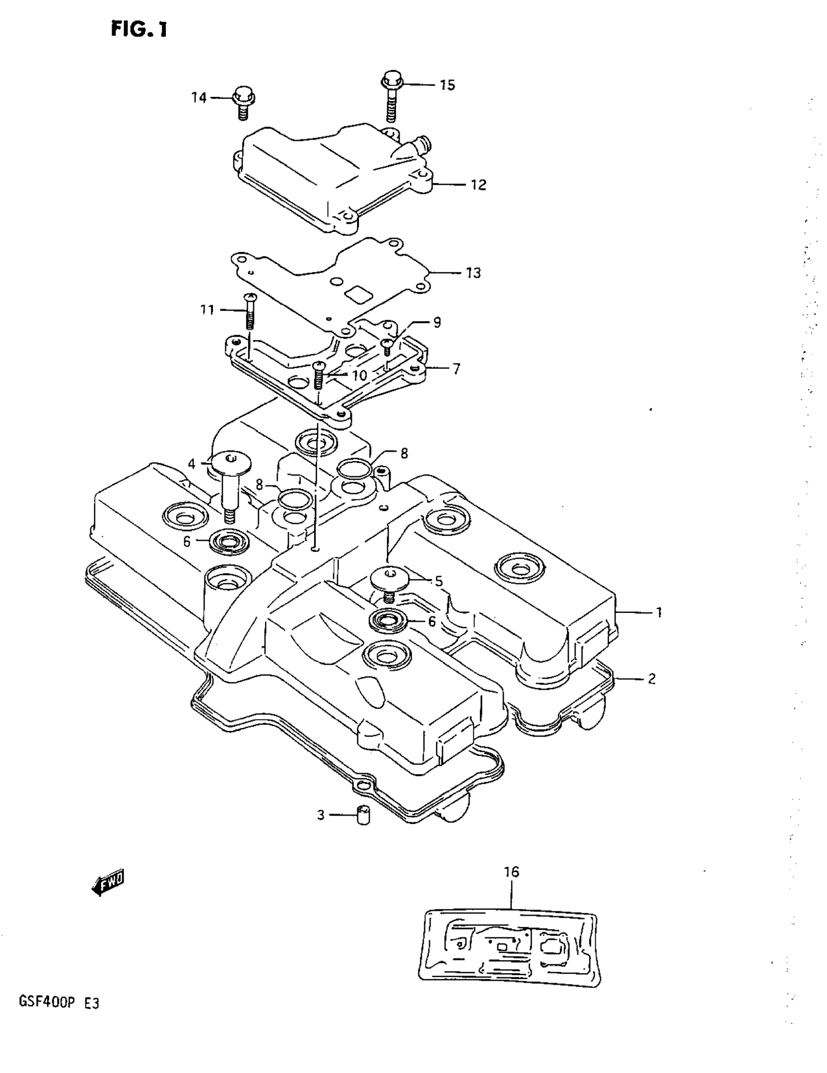
CYLINDER HEAD COVER
Suzuki GSF400 (1993) CYLINDER HEAD COVER Diagram
#
Description
Price
1
COVER, CYLINDER HEAD
11171-10D00
Unavailable
7
COVER, BREATHER LOWER
11177-33C00
Unavailable
12
COVER, BREATHER UPPER
11180-33C00
Unavailable
13
GASKET, BREATHER COVER
11179-33C00
Unavailable
16
GASKET SET | MODEL M/N This part replaces 11400-32864.
11400-32880
Unavailable
16
GASKET SET | MODEL P This part replaces 11400-32867.
11400-32880
Unavailable
