- Partiron
- OEM Parts
- Suzuki
- Motorcycle
- 2009
- GSF1250S (2009)
HYDRAULIC UNIT (GSF1250SAK7/SAK8/SAK9)
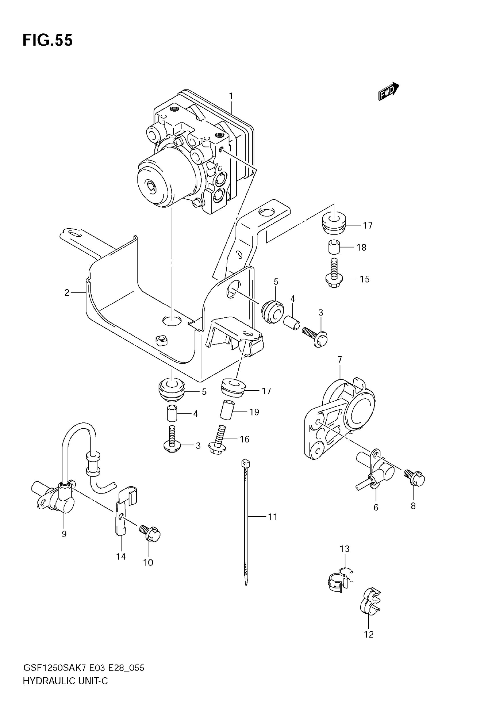
Suzuki GSF1250S (2009) HYDRAULIC UNIT (GSF1250SAK7/SAK8/SAK9) Diagram
#
Description
Price
1
UNIT ASSY, HYDRAULIC ABS
55610-18H00
Unavailable
2
HOLDER, HYDRAULIC UNIT ABS
55660-49G00
Unavailable
3
BOLT, UNIT MOUNTING
55661-10G00
Unavailable
4
SPACER
55662-10G00
Unavailable
5
RUBBER
55663-10G00
Unavailable
6
SENSOR, FR WHEEL ABS
55710-49G01
Unavailable
7
BRACKET, SENSOR FR
55720-49G00
Unavailable
9
SENSOR, RR WHEEL ABS
65710-38G00
Unavailable
12
CLAMP, SENSOR
09408-00241
Unavailable
13
CLAMP, SENSOR
09408-00242
Unavailable
14
CLAMP, ABS SENSOR REAR
65731-38G00
Unavailable
19
SPACER
09180-06266
Unavailable
