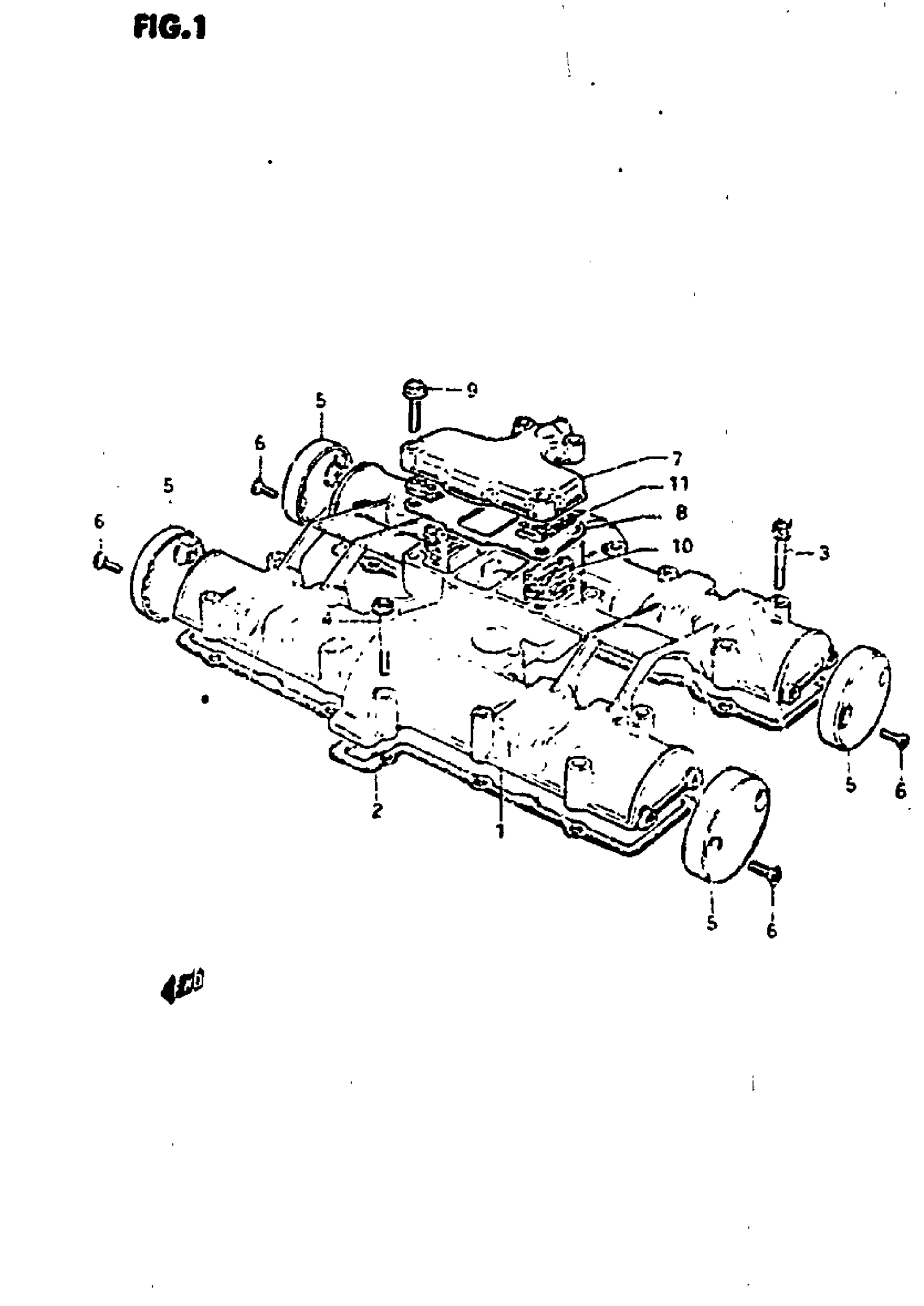
CYLINDER HEAD COVER
#
1
11171-45020
Unavailable
1
11171-45020
Unavailable
2
11173-45011-H17
Unavailable
5
11174-49000
Unavailable
7
11176-45011
Unavailable
7
11176-45011
Unavailable
8
11177-45000-H17
Unavailable
10
11186-45001
Unavailable
11
11187-45001
Unavailable
Edit ride
