- Partiron
- OEM Parts
- Suzuki
- Motorcycle
- 1983
- GS850G (1983)
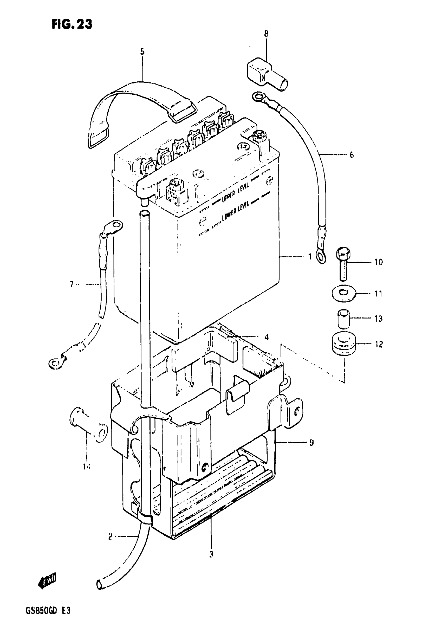
BATTERY
Suzuki GS850G (1983) BATTERY Diagram
#
Description
Price
1
BATTERY (12V, 14AH)
33610-49210
Unavailable
6
LEAD WIRE, BATTERY (-) This part replaces 33820-49400.
33860-05550
Unavailable
7
LEAD WIRE, (-)
33850-49400
Unavailable
9
HOLDER, BATTERY
41540-49400
Unavailable
