- Partiron
- OEM Parts
- Suzuki
- Motorcycle
- 1983
- GS750S (1983)
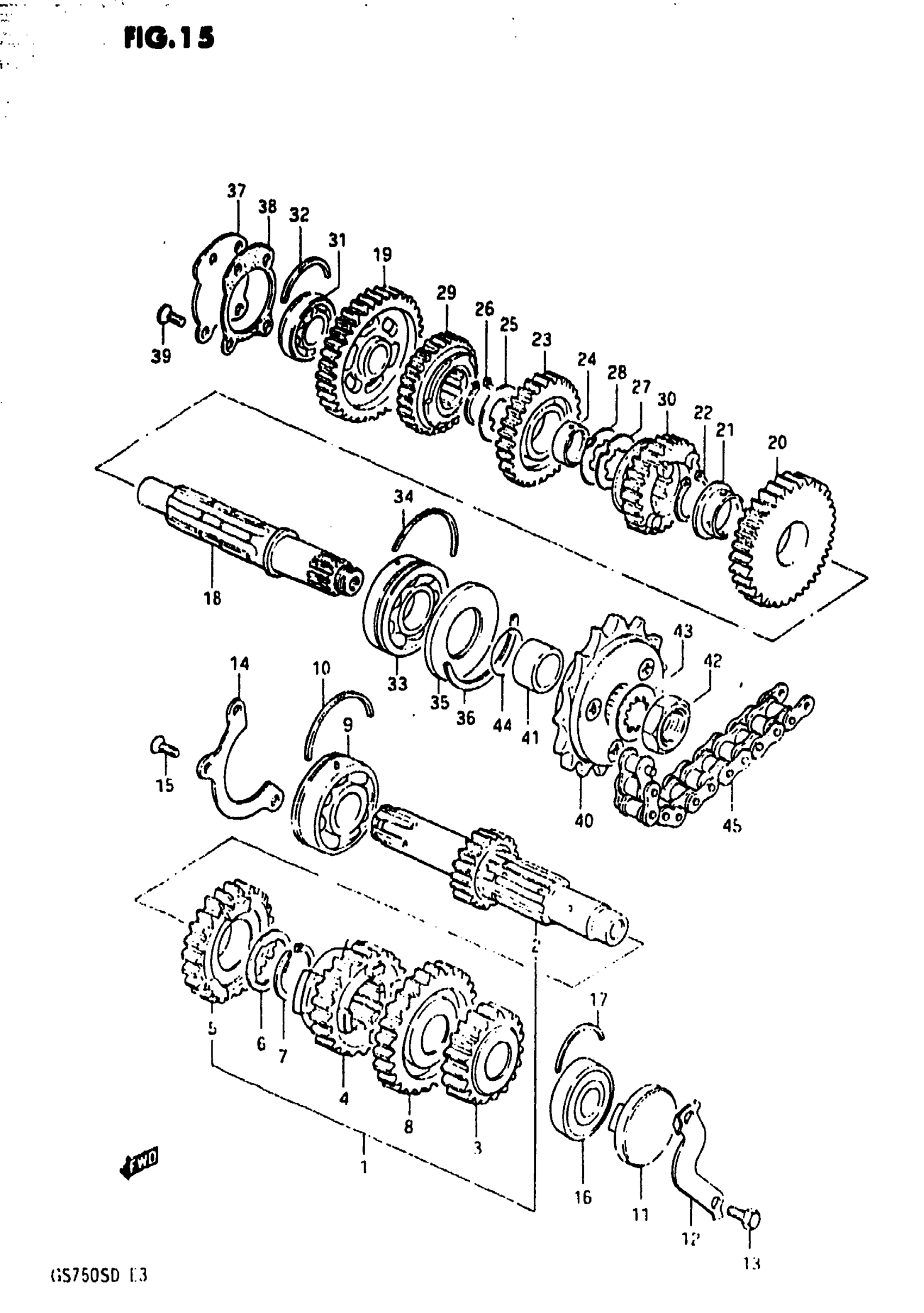
TRANSMISSION
Suzuki GS750S (1983) TRANSMISSION Diagram
#
Description
Price
1
COUNTERSHAFT ASSY | Includes Item(s) 2 - 8
24120-45400
Unavailable
2
COUNTERSHAFT (NT:14)
24121-45401
Unavailable
3
GEAR, 2ND DRIVE (NT:18)
24221-49001
Unavailable
4
GEAR, 3RD DRIVE (NT:21)
24231-49000
Unavailable
5
GEAR, 4TH DRIVE (NT:24)
24240-49000
Unavailable
8
GEAR, 5TH DRIVE (NT:26)
24250-49000
Unavailable
12
HOLDER
23117-45000
Unavailable
14
HOLDER, BEARING
24741-45000
Unavailable
17
C RING
09390-47003
Unavailable
18
DRIVESHAFT
24131-49002
Unavailable
19
GEAR, 1ST DRIVEN (NT:36)
24310-45000
Unavailable
20
GEAR, 2ND DRIVEN (NT:32) This part replaces 24321-49200.
24321-00A00
Unavailable
23
GEAR 3RD DRIVEN This part replaces 24331-49201.
24331-49202
Unavailable
29
GEAR, 4TH DRIVEN (NT:27)
24341-45100
Unavailable
30
GEAR, 5TH DRIVEN (NT:25) This part replaces 24351-45500.
24351-00A00
Unavailable
32
C RING
09390-47003
Unavailable
36
C RING
09390-62008
Unavailable
37
PLATE
24761-45000
Unavailable
40
SPROCKET ASSY,E This part replaces 27510-49010.
27510-49012
Unavailable
41
SPACER
09180-25052
Unavailable
45
CHAIN, DRIVE This part replaces 27600-45410.
27600-49210
Unavailable
