- Partiron
- OEM Parts
- Suzuki
- Motorcycle
- 1983
- GS750S (1983)
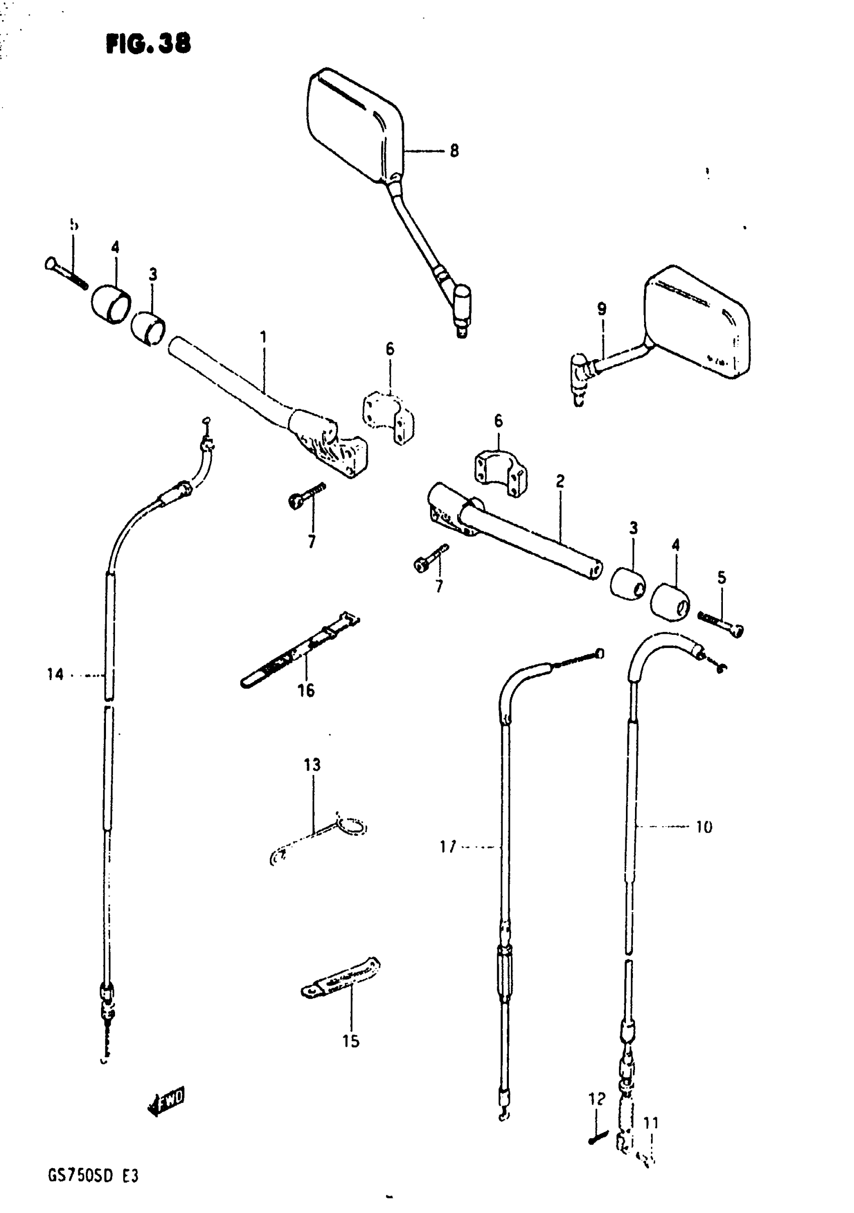
HANDLEBAR
Suzuki GS750S (1983) HANDLEBAR Diagram
#
Description
Price
1
HANDLEBAR, RH
56111-49310
Unavailable
2
HANDLEBAR, LH
56151-49310
Unavailable
3
BALANCER
56271-49310
Unavailable
4
CAP, BALANCER
56274-49310
Unavailable
6
HOLDER, HANDLEBAR
56211-49300
Unavailable
10
CABLE, CLUTCH
58200-45500
Unavailable
11
PIN
09200-06011
Unavailable
13
CLAMP
58626-45101
Unavailable
14
CABLE,THROTTLE This part replaces 58300-45500.
58300-45501
Unavailable
17
CABLE, STARTER
58410-49300
Unavailable
